奕斯伟“籽晶稳定装置、晶体生长设备及籽晶稳定方法”专利公布
15 小时前 / 阅读约1分钟
来源:集微网
西安奕斯伟材料科技公布“籽晶稳定装置、晶体生长设备及籽晶稳定方法”专利,该装置用于稳定单晶炉中的籽晶绳,通过夹持组件实现夹紧和松开,有效稳定籽晶。

天眼查显示,西安奕斯伟材料科技股份有限公司“籽晶稳定装置、晶体生长设备及籽晶稳定方法”专利公布,申请公布日为2025年3月21日,申请公布号为CN119663425A。

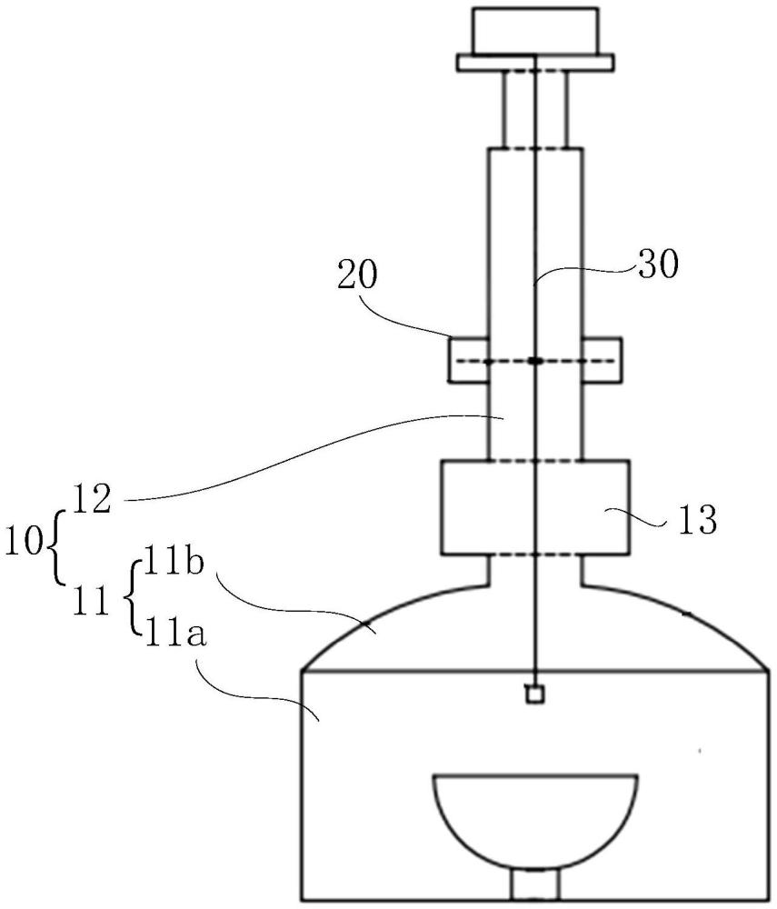
本公开提供了一种籽晶稳定装置、晶体生长设备及籽晶稳定方法,籽晶稳定装置用于稳定单晶炉中的籽晶绳,单晶炉包括主炉室和副炉室;籽晶稳定装置包括:安装结构组件;夹持组件,夹持组件通过安装结构组件设置在副炉室上,夹持组件包括环绕籽晶绳的轴线间隔地分布的若干夹持单元,每个夹持单元包括驱动构件和夹头;夹头被构造为在驱动构件的驱使下,沿副炉室的径向在靠近籽晶绳的第一位置和远离籽晶绳的第二位置之间可运动,其中,在第一位置时,若干夹持单元的夹头可相互配合夹紧籽晶绳,在第二位置时,若干夹持单元的夹头可松开籽晶绳。本公开提供的籽晶稳定装置、晶体生长设备及籽晶稳定方法能够起到有效的稳定籽晶效果。