1.Adeia起诉AMD,指控其侵犯十项半导体专利
2.继大众后加速“专利上车”!OPPO与国内头部车企达成全球专利许可
3.奕斯伟材料“一种识别晶圆的线缺陷的方法、装置、设备及介质”专利获授权
4.展讯通信“一种资源集合确定方法、装置、芯片及模组设备”专利获授权
5.TCL华星“液晶显示装置”专利获授权
1.Adeia起诉AMD,指控其侵犯十项半导体专利
技术许可公司Adeia近期在美国得克萨斯州联邦法院对AMD提起两项诉讼,指控其侵犯了Adeia十项与半导体创新相关的专利。
诉讼称,AMD用于台式机、笔记本电脑和服务器的几款处理器侵犯了Adeia在改进半导体制造工艺方面的专利权。
AMD是美国最大的半导体公司之一。近期,AMD与美国政府签署协议,将建造两台人工智能(AI)超级计算机,以推进美国的研发工作。
Adeia在诉状中称,其前身Tessera率先开发了混合键合和先进工艺节点技术,这两项技术均与半导体制造相关。AMD的处理器(包括其AI芯片)采用了Adeia的专利技术,其中包括“3D V-Cache”技术。
Adeia要求AMD赔偿数额不详的损失,并要求法院下令AMD停止使用其专利技术。
Adeia CEO Paul Davis表示,AMD对其技术的使用“极大地促进了其作为市场领导者的成功”,Adeia愿意接受“能够体现我们知识产权价值的公平合理的解决方案”。
Adeia此前是TiVo母公司Xperi的知识产权许可部门,在2022年被Xperi分拆成为独立公司。
2.继大众后加速“专利上车”!OPPO与国内头部车企达成全球专利许可
11月5日,OPPO宣布与中国某大型车企签署全球专利许可协议,将OPPO蜂窝通信标准必要专利许可予该车企。根据协议,OPPO将在蜂窝通信标准专利方面助力该车企提升其网联车产品的用户体验并助力其海外市场扩展。
OPPO专利许可负责人林委之指出,这是OPPO继大众之后,再次通过双边许可的方式向知名汽车企业许可蜂窝通信标准必要专利。
可见,这是OPPO继和大众集团的双边专利许可之后,对外宣布的第二份与汽车公司达成的专利许可协议。6月5日,OPPO宣布与大众汽车集团签署全球专利许可协议,将包含5G在内的蜂窝通信标准必要专利许可给大众。这一合作标志着OPPO蜂窝通信标准必要技术的应用从智能手机扩展至汽车领域,OPPO的蜂窝通信标准必要专利将许可给大众全球产品线,以增强其网联汽车产品的用户体验。
OPPO的5G标准必要专利目前已在全球40多个国家和地区布局。根据专利分析平台LexisNexis IPlytics 数据,截至2025年1月,OPPO在5G专利综合实力排名中位居全球第八。此外,OPPO自主研发的VOOC闪充技术已被60余家汽车公司采用,累计搭载车辆超过1000万台。
截至2025年9月,OPPO全球专利申请量逾11.7万件,授权专利超6.5万件。
3.奕斯伟材料“一种识别晶圆的线缺陷的方法、装置、设备及介质”专利获授权
天眼查显示,西安奕斯伟材料科技股份有限公司近日取得一项名为“一种识别晶圆的线缺陷的方法、装置、设备及介质”的专利,授权公告号为CN119812025B,授权公告日为2025年10月14日,申请日为2024年12月5日。

本公开提供了一种识别晶圆的线缺陷的方法、装置、设备及介质;所述方法包括:采集经预处理的待测晶圆上的每个采样点的应力波动数据;根据每个采样点的应力波动数据从所有采样点中选取出候选采样点;基于候选采样点构建线状的连通区域;根据线状的连通区域内的所有候选采样点的应力波动数据判定线状的连通区域是否为线缺陷。
4.展讯通信“一种资源集合确定方法、装置、芯片及模组设备”专利获授权
天眼查显示,展讯通信(上海)有限公司近日取得一项名为“一种资源集合确定方法、装置、芯片及模组设备”的专利,授权公告号为CN116209065B,授权公告日为2025年10月14日,申请日为2021年11月29日。

本申请公开了一种资源集合确定方法、装置、芯片及模组设备,该方法包括:确定资源感知窗的长度是否大于第一阈值;若资源感知窗的长度大于第一阈值,则确定初始候选资源集合中的初始候选资源数是否大于第二阈值;若初始候选资源数小于或等于第二阈值,则向初始候选资源集合中添加候选资源。基于本申请所描述的方法,有利于保证初始候选资源集合中的初始候选资源充足,从而可提高最终可用的候选资源集合中质量较好的候选资源的数量,提升侧链路传输可靠性。
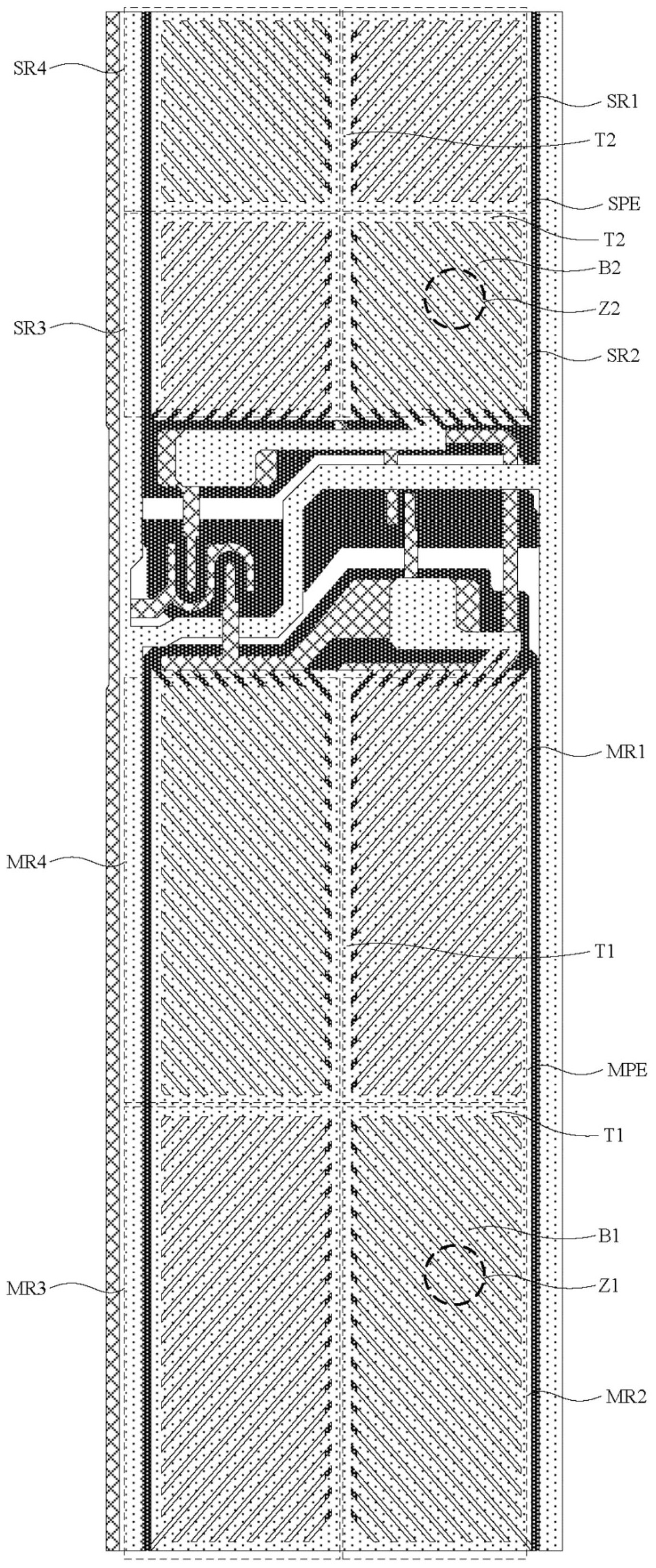
5.TCL华星“液晶显示装置”专利获授权
天眼查显示,TCL华星光电技术有限公司近日取得一项名为“液晶显示装置”的专利,授权公告号为CN118795700B,授权公告日为2025年10月14日,申请日为2024年9月6日。

本申请提供一种液晶显示装置,包括多个像素单元,多个像素单元包括红色、绿色和蓝色像素单元,每个像素单元均包括主、次像素电极,主、次像素电极均包括多个分支电极;红色和绿色像素单元的主、次像素电极中的一者的分支电极的宽度小于红色和绿色像素单元的主、次像素电极中的另一者的分支电极的宽度;蓝色像素单元的主像素电、次像素电极中的一者的分支电极的宽度小于红色和绿色像素单元的主、次像素电极中的一者的分支电极的宽度,蓝色像素单元的主、次像素电极中的另一者的分支电极的宽度小于红色和绿色像素单元的主、次像素电极中的另一者的分支电极的宽度。本申请提供的液晶显示装置能够提升整体的视角特性。
