地平线系创业公司,正在成为投资人眼里的香饽饽。
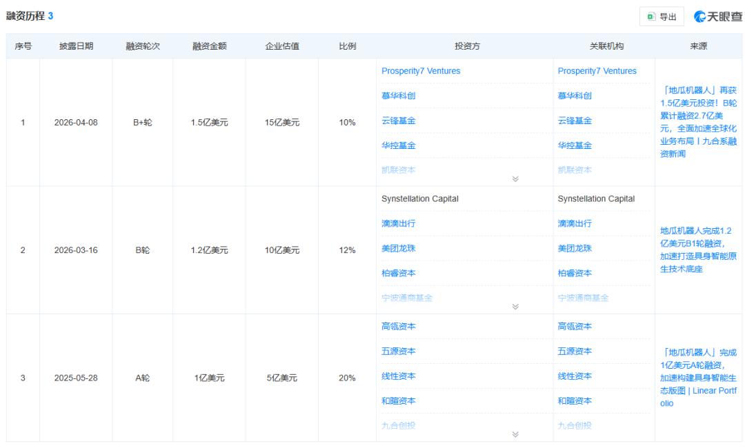
4月8日,地瓜机器人完成1.5亿美元的B2轮融资,距离其B1轮融资仅过去20余天,两轮融资额累计达2.7亿美元(约18.45亿人民币)。
天眼查显示,地瓜机器人成立于2024年,至今已完成三轮融资,企业估值达到15亿美元(约102.51亿人民币)。投资方阵容更是星光熠熠,囊括高瓴资本、五源资本、美团龙珠、滴滴出行、淡马锡旗下 Vertex Growth 等一线投资机构、产业资本和互联网大厂。

图片来源:天眼查
地瓜机器人刚敲定B1轮融资没多久,另一家做具身智能的公司章鱼动力,就拿下了数亿元种子轮融资;再往前推一个月,专注打造机器人“通用大脑”与“操作智能”的无界动力,也完成2亿元天使+轮融资,背后同样站着一众知名投资机构。
这些成立不过一两年的创业公司,能被资本追着“送钱”,固然是踩中了赛道风口,但更重要的或许还有一个原因:公司创始人都有同一个背景——前地平线高管或技术骨干。
比如地瓜机器人,本身就是地平线内部孵化的项目,打法也一脉相承,甘当 AI 时代的“卖铲人”。在具身智能大热的当下,它不亲自下场造机器人,只专注做机器人的大脑芯片。淘金热里卖铲子,听起来不如挖金矿光鲜,却胜在风险更低、确定性更强。
成为投资热门的地平线系公司远不止这些。余轶南的维他动力、单羿的鉴智机器人、张玉峰的无界动力,以及吴强的后摩智能、孙浚凯的智往未来和黄冠的极佳视界等,无一例外都成了资本争抢的对象。
比较难得的是,对于这些离职创业的老员工,地平线非但没有打压封杀,反而真金白银出资支持。这般胸襟气度,离不开创始人余凯的“仁义”底色。
其实,不只对外,对内一同打拼的伙伴,余凯也向来厚待——过去一年,地平线平均年薪超百万元,稳居行业头部。可这份慷慨,最终没能留住核心人才,反倒让地平线自身陷入了两难境地。
在机器人圈子里,不管是地平线在职员工、离职创业的前高管,还是只和余凯有过几面之缘的投资人,对他的称呼都出奇统一——“凯哥”。
这个称呼不全是客气。余凯2012年回国加入百度,创建深度学习研究院,那是中国互联网公司第一个人工智能研发机构。3年里余凯带的团队拿了3次“百度最高奖”,破了公司纪录。
2015年,39岁的余凯决定自立门户,拉上黄畅、陶斐雯在北京创办地平线机器人公司,主攻AI芯片。当时,他们将“车规级芯片”作为创业方向,这比一般芯片技术更难、门槛更高。
为了能成事,余凯还拉来不少百度时期的技术班底,余轶南、单羿、都大龙等人都在其中。据余轶南后来回忆,余凯当时拉他入伙只有简单的一句话——“我们一起去做AI芯片吧”,他便毫不犹豫加入了。
此后九年,余轶南从一线技术人员一路做到地平线智驾负责人,褪去了早年纯粹的科研气质,多了几分商场历练的江湖气。2024 年末,余轶南离职创办维他动力,很快便斩获近亿元种子轮融资,投资方除了高瓴、元璟等机构,还有地平线与百度风投。甚至在维他动力首款超能机器狗开启预售后,余凯还第一时间下单支持。

注:网传截图
2025年初,地平线原智能汽车事业部总裁张玉峰也选择离职创业,创办无界动力,并在天使轮融资中也拿到了地平线和百度风投的投资。
相比余轶南和张玉峰,余凯对单羿的支持更为深入。单羿是地平线最早的十号员工之一,2016 年离职后联合清华团队创立深鉴科技,业务还和地平线存在一定竞争,最终这家公司在 2018 年以3亿美元价格被赛灵思收购。
后来单羿再度创业,成立鉴智机器人,还拉来了同为地平线早期员工的都大龙。即便双方曾有业务交集,余凯也并未将单羿视作对手,反而让地平线在天使轮、Pre-A 轮、Pre-B 轮连续加注鉴智。2025年,四维图新以18亿元战略投资入主鉴智机器人,而前者与地平线合作关系紧密。为此,外界普遍猜测,该交易背后或少不了地平线的推动。
余凯对昔日伙伴不设壁垒、不挖墙脚,反而给钱给资源,情义可见一斑。百度风投副总裁崔轲迪评价他是“过去十年创业者中的翘楚”,从地平线走出的创业者,也大多深受其影响。和暄资本总裁张梦涵也提到,余凯在内部一直强调,各业务负责人必须具备独立完成商业闭环的能力,这也让地平线出身的创业者“单兵作战”能力极强。
这种带着成熟经验与资源创业的模式,大幅降低了硬科技创业的试错成本,这或许也是地平线系公司备受资本青睐的主要原因。
余凯的慷慨不只体现在扶持老部下创业上,对内,对于并肩作战的团队,他同样出手阔绰。
财报数据显示,截至2025年年末,地平线共有员工2215名,总薪酬约为29.18亿元,以此计算,人均年薪约132万元,较2024年的118万元又涨了近12%。
地平线的薪酬待遇在业内一直处于头部。据招股书显示,2023年,公司人均年薪约为97.1万元,位居业内第二,仅次于禾赛科技的99.3万元人均年薪。

图片来源:地平线2025年业绩公告
三年间,地平线人均年薪从上市前的97.1万元涨至132万元,累计涨幅超35%。即便2025年公司亏损百亿,员工薪酬不仅没下降,反而持续上调。
本应是“跟着凯哥有肉吃”的美好剧本,遗憾的是,高薪并没有留住人才。相反,过去两年地平线的核心人才不断流失,早已成为行业内公开的隐性危机。针对高管以及核心技术人才流失等情况,源媒汇也致函地平线方面,截至发稿未获回复。
单羿走了,都大龙走了,余轶南也走了,还有部分不为人熟知的技术骨干也相继离职。2026年3月初,36氪曝出地平线芯片研发负责人陈鹏即将离职,甚至有传闻称,陈鹏将与原COO联手创业。
余凯的慷慨,某种程度上成了一道魔咒:他亲手培养出一批能打硬仗的技术管理者,又用真金白银把他们送上创业之路。
人才不断外流,地平线总部的核心人才池持续被稀释,新招员工又需要漫长时间磨合成长。一来一回间,地平线虽织起了一张庞大的生态网,自身核心团队却始终处在“失血”状态。
余凯曾坦言,自己是“变态级别的风险厌恶者”,推崇巴菲特、芒格与段永平的投资哲学,坚信“不下牌桌比快速成功更重要”。这套理念用在战略上无可挑剔,放到人才管理上,却显得有些矛盾。
这并非余凯一人的困境,几乎所有从0到1崛起的硬科技公司,都会面临人才流出的问题。但地平线的特殊之处在于,余凯不仅没有设防,反而主动为人才外流“推波助澜”。他的逻辑很清晰:与其强行阻拦,不如投资扶持,让他们成为地平线生态的一部分。
从战略层面看,这无疑是一盘“大棋”——鉴智机器人、维他动力、地瓜机器人,以及众多地平线系初创公司,正逐步形成一个“松散又紧密”的联盟。
可站在地平线总部的角度,代价也显而易见:关键岗位人员变动频繁,核心团队就会面临长期的不稳定因素,研发效率或也会大打折扣。2025年,公司研发开支为51.54亿元,占营收比例高达137%,其中或相当一部分都耗费在重复建设上。老员工离职,新人接手后要重新熟悉架构、磨合团队、踩坑试错,无形中造成了巨大的资源浪费。
好在地平线的基本盘并未动摇。2025年公司营收37.58亿元,同比增长57.7%,征程6系列芯片在比亚迪、理想等主流车企量产上车,市占率依旧稳居第一梯队。管理层将盈亏平衡目标定在2027年,仍有两年多的窗口期。

图片来源:地平线2025年业绩公告
余凯为地平线规划的核心路径是“舱驾融合”,他判断未来智驾与座舱会在底层芯片层面打通,形成全新的智能体平台,这也是公司接下来的核心硬仗。但这条路上强敌环伺,比亚迪、理想等车企纷纷下场自研芯片,老客户逐渐变成竞争对手;华为、英伟达持续加码,赛道竞争愈发激烈。
想打赢这场硬仗,需要一支稳定且强悍的核心团队。可余凯同时在做另一件事:用自己的慷慨,不断向外输送团队骨干。
这两个目标之间,始终存在微妙的张力。有人说这是格局,也有人认为这是失策。不管最终的答案如何,可以确定的是,只要凯哥还在牌桌上,他身边的兄弟们就会继续来来往往。
有人坚守岗位,有人出走创业,有人加入生态子公司,也有人彻底淡出机器人圈子。余凯坐在圆心位置,用高薪、股权、投资,还有一句句“一起干”的邀约,试图把这张生态网织得越来越大。
但网心之处的地平线,能否撑住人才流动带来的消耗,才是余凯真正要面对的终极考题。
