1.天马微电子“显示面板及显示装置”专利公布;
2.国网信息“一种基于国密算法的客户端认证方法”专利公布;
3.维信诺“显示面板以及测试方法”专利公布;
4.vivo“NFC无线充电控制方法、装置和电子设备”专利获授权;
1.天马微电子“显示面板及显示装置”专利公布;
天眼查显示,武汉天马微电子有限公司“显示面板及显示装置”专利公布,申请公布日为2025年3月21日,申请公布号为CN119677334A。

本发明提供了一种显示面板及显示装置。显示面板包括:基板;像素定义层,包括第一像素定义层和第二像素定义层,第一像素定义层位于基板的一侧,第二像素定义层位于第一像素定义层背离基板的一侧,第一像素定义层的透过率小于第二像素定义层的透过率;像素定义层设有第一像素开口和第二像素开口,在第一像素开口,第二像素定义层包覆第一像素定义层的边缘;在第二像素开口,第二像素定义层至少不包覆第一像素定义层的部分边缘;发光器件,包括第一发光子器件和第二发光子器件,第一发光子器件位于第一像素开口内,第二发光子器件位于第二像素开口内。本发明可降低显示面板的反射率,提高显示效果。
2.国网信息“一种基于国密算法的客户端认证方法”专利公布;
天眼查显示,国网信息通信产业集团有限公司“一种基于国密算法的客户端认证方法”专利公布,申请公布日为2025年3月21日,申请公布号为CN119675872A。
本发明公开了一种基于国密算法的客户端认证方法,包括:客户端发起请求时携带Http请求头X‑CL‑Access‑Key和X‑CL‑Authorization,其中请求头X‑CL‑Access‑Key为客户端注册时生成的AccessKey,请求头X‑CL‑Authorization为该次请求的签名;网关服务接收到请求后,根据该次请求头X‑CL‑Access‑Key中的AccessKey查询本地缓存中的客户端注册列表查找该AccessKey所对应的SecretKey对请求头X‑CL‑Authorization中的签名数据进行解密和校验;该方法可以帮助用户防止未经过授权的客户端访问受保护的资源,防止恶意用户伪装成合法用户访问服务器资源。
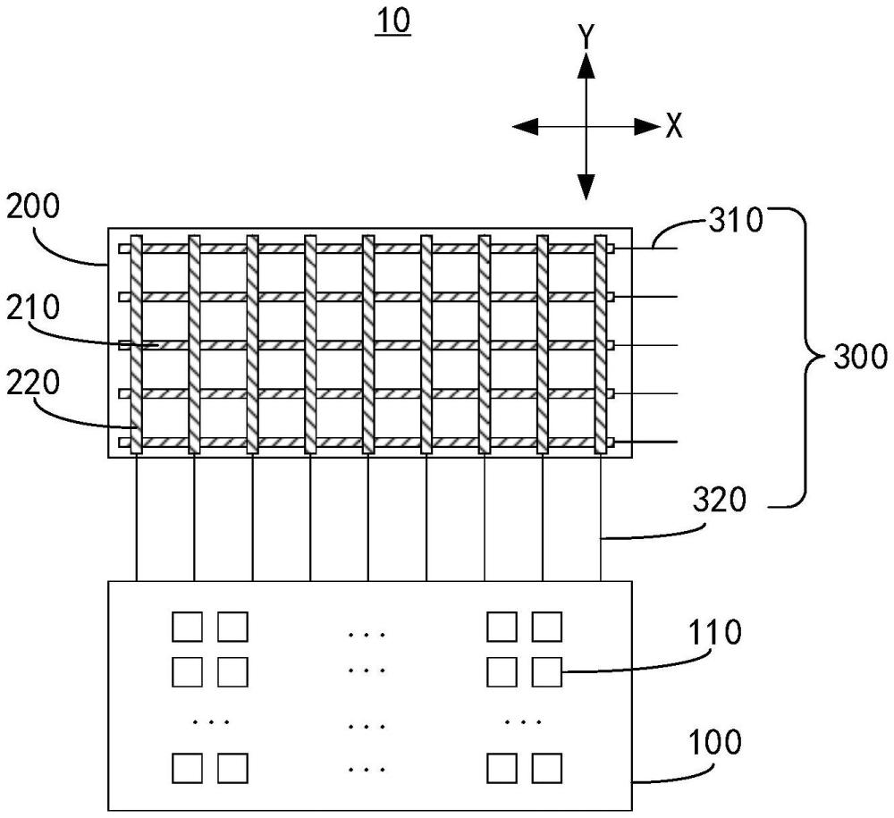
3.维信诺“显示面板以及测试方法”专利公布;
天眼查显示,维信诺科技股份有限公司“显示面板以及测试方法”专利公布,申请公布日为2025年3月21日,申请公布号为CN119668432A。

本申请公开了一种显示面板以及测试方法,显示面板包括:显示组件,包括像素单元;触控组件,包括第一触控电极以及第二触控电极,第一触控电极沿着第一方向延伸,第二触控电极沿着第二方向延伸,第一方向与第二方向相交;第一测试电路,包括第一信号线以及第二信号线,第一信号线与第一触控电极电连接,用于向第一触控电极输入第一测试信号,第二信号线电连接第二触控电极与像素单元。本申请的设计可以通过显示效果来确定触控功能是否异常。
4.vivo“NFC无线充电控制方法、装置和电子设备”专利获授权;
天眼查显示,维沃移动通信有限公司近日取得一项名为“NFC无线充电控制方法、装置和电子设备”的专利,授权公告号为CN113141064B,授权公告日为2025年3月21日,申请日为2021年4月28日。

本申请公开了一种NFC无线充电控制方法、装置和电子设备,属于无线充电技术领域。所述NFC无线充电控制方法应用于电子设备,所述电子设备包括NFC天线,所述NFC天线贴近所述电子设备的第一面,所述第一面为所述电子设备的正面或反面,所述方法包括:检测所述电子设备的姿态;在所述电子设备的第一面与水平面的夹角小于预设角度阈值、且所述电子设备的第一面朝向预设方向的情况下,开启NFC无线充电探测功能探测待充电设备。
