1.维信诺“显示面板以及测试方法”专利公布;
2.OPPO“电子设备”专利公布;
3.VIVO“构图方法、装置和电子设备”专利获授权;
4.国网信息“一种基于Cesium实现沉浸式动态数据面板展示的方法”专利公布;
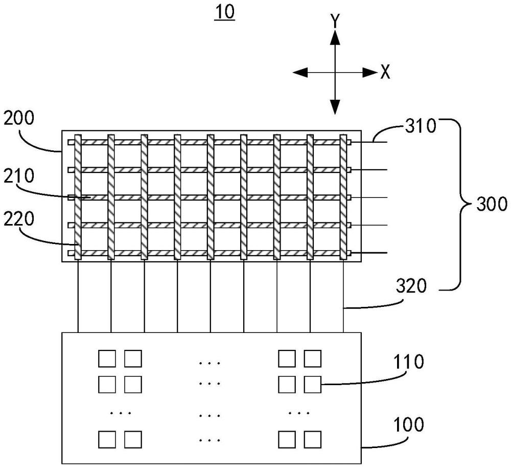
1.维信诺“显示面板以及测试方法”专利公布;
天眼查显示,维信诺科技股份有限公司“显示面板以及测试方法”专利公布,申请公布日为2025年3月21日,申请公布号为CN119668432A。

本申请公开了一种显示面板以及测试方法,显示面板包括:显示组件,包括像素单元;触控组件,包括第一触控电极以及第二触控电极,第一触控电极沿着第一方向延伸,第二触控电极沿着第二方向延伸,第一方向与第二方向相交;第一测试电路,包括第一信号线以及第二信号线,第一信号线与第一触控电极电连接,用于向第一触控电极输入第一测试信号,第二信号线电连接第二触控电极与像素单元。本申请的设计可以通过显示效果来确定触控功能是否异常。
2.OPPO“电子设备”专利公布;
天眼查显示,OPPO广东移动通信有限公司“电子设备”专利公布,申请公布日为2025年3月21日,申请公布号为CN119674527A。

本申请提供一种电子设备,包括参考地板及第一天线单元。参考地板包括依次首尾相连的第一侧边、第二侧边、第三侧边和第四侧边,第一侧边具有依次排列的第一区域、第二区域和第三区域。第一天线单元包括第一天线辐射体和第一激励源,第一天线辐射体设于第一侧边,第一天线辐射体具有第一馈电点,第一馈电点在第一侧边的正投影位于第二区域,第一天线辐射体的长度小于或等于低频频段的1/10波长,第一激励源电连接第一馈电点,第一激励源用于激励参考地板产生第一电流模式,第一电流模式在第一区域和第三区域形成电流弱区,在第二区域形成电流强区。本申请提供的电子设备的天线辐射体的长度较短,有利于小型化。
3.VIVO“构图方法、装置和电子设备”专利获授权;
天眼查显示,维沃移动通信有限公司近日取得一项名为“构图方法、装置和电子设备”的专利,授权公告号为CN114091130B,授权公告日为2025年3月21日,申请日为2021年11月29日。

本申请公开了一种构图方法、装置和电子设备,属于通信技术领域。所述方法包括:获取背景图像,及确定N个目标物品;对所述背景图像进行视觉显著性预测,确定所述背景图像中的M个第一标记点;从所述M个第一标记点中选取T个第二标记点,并基于预设布局图形连接所述T个第二标记点,获得目标布局图形;根据所述目标布局图形,在所述背景图像中添加所述N个目标物品,生成并显示物品布局图像;其中,N、M、T均为大于1的正整数。
4.国网信息“一种基于Cesium实现沉浸式动态数据面板展示的方法”专利公布;
天眼查显示,国网信息通信产业集团有限公司“一种基于Cesium实现沉浸式动态数据面板展示的方法”专利公布,申请公布日为2025年3月21日,申请公布号为CN119668603A。

本发明的一种基于Cesium实现沉浸式动态数据面板展示的方法,包括以下步骤:S1.制作SVG,即业务面板效果设计制作;S2.定义模版,即标记SVG文件定义占位符;S3.转化图片,根据模板与数据转化生成图片;S4.生成面板,形成面板接入系统。该方法极大提高了动态数据面板制作效率,提升了基于Cesium平台的展示效果,最终形成新的基于Cesium实现沉浸式动态数据面板展示的技术路线。
