1、苹果面临欧盟警告 要求其开放iPhone操作系统
2、芯海科技“人体阻抗检测电路、芯片、装置以及智能设备”专利获授权
3、京东方“显示装置”专利公布
4、华羿微电“一种宽SOA屏蔽栅MOSFET器件及制备方法”专利获授权
5、星恒电源“一种极片柔韧性测试装置及方法”专利获授权
1、苹果面临欧盟警告 要求其开放iPhone操作系统
据外媒报道,近日,欧盟监管机构对苹果公司发出警告,要求其向竞争对手开放iPhone和iPad操作系统,强调如果不遵守欧盟的数字市场法(DMA),苹果可能面临巨额罚款的风险。
知情人士透露,欧盟监管机构将根据欧盟新的《数字市场法案》宣布,总部位于加州库比蒂诺的苹果必须遵守严格的新规定,使操作系统与其他技术兼容。尽管该声明距离正式调查仅一步之遥,但欧盟的目标是迫使苹果重新设计其服务,以允许竞争对手访问iPhone的操作系统。
数字市场法(DMA)的目标之一是确保其他开发者能够访问iPhone的关键功能,如Siri语音命令和支付芯片。如果苹果不遵守DMA,欧盟可能随后决定发起正式调查,这最终可能导致高达全球年度营业额10%的巨额罚款。
布鲁塞尔的官员表示,苹果公司必须在六个月内遵守新规,否则将迎来严厉的处罚。欧盟希望通过此举,迫使苹果重新设计其封闭的生态系统,让竞争对手也能访问iPhone和iPad的操作系统。
欧盟竞争事务专员Margrethe Vestager在声明中指出:“今天我们首次动用DMA下的规范程序,督促苹果履行互操作性的义务,确保智能手机与其他技术之间能够相互合作。”
据悉,欧盟委员会9月19日启动了规范程序,以协助苹果公司履行《数字市场法案》(DMA)规定的互操作性义务。根据《数字市场法案》,苹果公司必须向第三方开发商和企业提供免费、有效的互操作性,使其能够使用由苹果公司操作系统iOS和iPadOS控制的硬件和软件功能。
今年3月,美国司法部也对苹果的IPhonehone和IPad发起同样的指控,认为苹果对iPhone和iPad施加了软件和硬件限制,这使得竞争对手更难竞争,消费者更难更换手机。
该投诉列举了苹果压制竞争的五种技术:超级应用程序、云流媒体游戏应用程序、消息应用程序、智能手表和数字钱包。
尽管苹果尚未对此事发表回应,但此次事件再次引发了外界对其封闭生态系统的讨论。就在本月10日,苹果发布了最新的iPhone 16,试图以适度的硬件升级和即将到来的AI技术吸引消费者。然而,由于DMA的限制,某些功能如Apple Intelligence、iPhone Mirroring和SharePlay Screen Sharing将无法在欧盟使用。
2、芯海科技“人体阻抗检测电路、芯片、装置以及智能设备”专利获授权
天眼查显示,芯海科技(深圳)股份有限公司近日取得一项名为“人体阻抗检测电路、芯片、装置以及智能设备”的专利,授权公告号为CN111281386B,授权公告日为2024年8月30日,申请日为2020年3月6日。

本申请实施例提供了一种人体阻抗检测电路、芯片、装置以及智能设备,其中人体阻抗检测电路包括激励源、测量电路、频谱搬移电路以及音频输出电路,激励源用于产生流经人体的激励信号;测量电路连接于激励源,用于根据激励信号测量人体阻抗信号;频谱搬移电路连接测量电路,用于将人体阻抗信号的频率搬移至指定频段,输出频率在指定频段的第一调幅信号,其中指定频段包括至少部分声音频段;音频输出电路连接频谱搬移电路,用于根据第一调幅信号输出第一音频信号。本申请实施例提供的人体阻抗检测电路通过声音反映出真实的人体阻抗的变化,避免用户中断当前处理事项才能得知结果,提高人体阻抗检测结果的知会效率,并扩大生物阻抗测量的适用范围。
3、京东方“显示装置”专利公布
天眼查显示,成都京东方光电科技有限公司“显示装置”专利公布,申请公布日为2024年8月30日,申请公布号为CN118571124A。

本公开实施例提供了一种显示装置,属于显示技术领域。该显示装置包括显示面板和柔性电路板,柔性电路板位于显示面板的背面。柔性电路板包括固定部位和可弯折部位,固定部位与显示面板相连,可弯折部位具有沿可弯折部位长度方向延伸的第一侧边。柔性电路板包括依次层叠的第一保护层、第一走线层、基材层、第二走线层、第二保护层和第一电磁屏蔽层。第一走线层在第一侧边的第一区域相对于基材层具有第一内缩量,第二走线层在第一区域相对于基材层具有第二内缩量,第一电磁屏蔽层在第一区域相对于基材层具有第三内缩量。第一内缩量、第二内缩量和第三内缩量中的至少两个不相等。本公开实施例可以提升柔性电路板边缘的抗变形能力。
4、华羿微电“一种宽SOA屏蔽栅MOSFET器件及制备方法”专利获授权
天眼查显示,华羿微电子股份有限公司近日取得一项名为“一种宽SOA屏蔽栅MOSFET器件及制备方法”的专利,授权公告号为CN118248736B,授权公告日为2024年8月30日,申请日为2024年5月23日。

本发明公开了一种宽SOA屏蔽栅MOSFET器件,通过在器件有源区中间隔错位或者平行排列而形成沟槽宽度和接触孔宽度的不同版图布局,该布局是通过光刻的方式在器件有源区中间隔错位或者平行排列形成沟槽和接触孔不同宽度,使得该区域拥有更窄的沟槽到接触孔距离,从而在接触孔注入后形成该区域与其他区域不同的浓度梯度,实现在器件导通时其他区域优先开启而该区域延迟开启,最终在其他区域优先开启的情况下,该区域可以作为散热场板从而提升器件整体的SOA。本发明还提供了一种上述器件的制备方法,该器件的制备方法与一般功率器件制造工艺兼容,能够应用于平面型以及沟槽型和屏蔽栅型MOSFET甚至超结MOSFET和IGBT等功率器件当中。
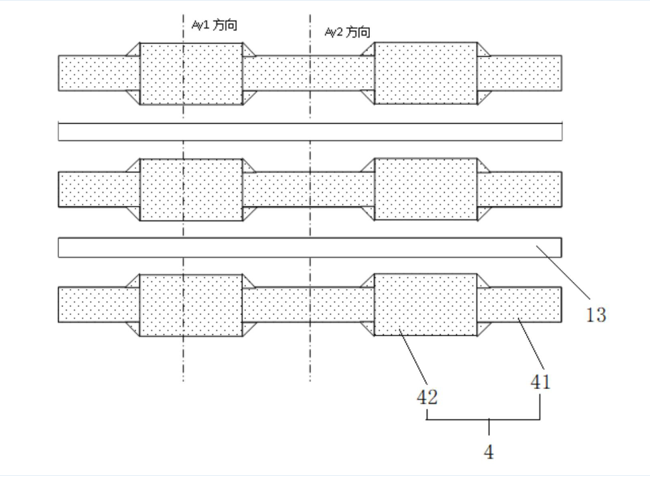
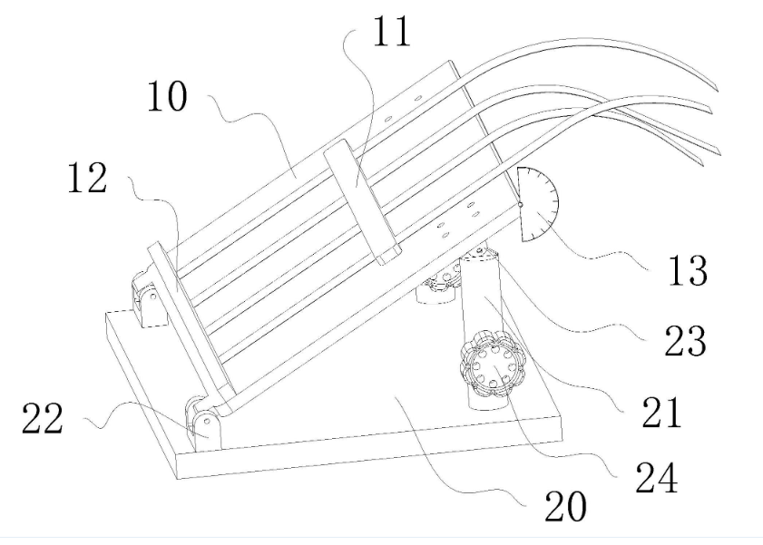
5、星恒电源“一种极片柔韧性测试装置及方法”专利获授权
天眼查显示,星恒电源股份有限公司近日取得一项名为“一种极片柔韧性测试装置及方法”的专利,授权公告号为CN114324011B,授权公告日为2024年8月30日,申请日为2022年1月4日。

本发明涉及一种极片柔韧性测试装置及方法,包括:测试平台,所述测试平台倾斜设置,所述测试平台上设置有极片压条;底板,所述底板与所述测试平台的一端相连,所述底板上设置有支撑所述测试平台另一端的支撑杆。测试中将极片一端压在测试平台上,另一端下垂,观察下垂程度。本发明结构简单,操作方便,可定性评估极片柔韧性。
