1、OPPO“一种数据传输方法及参数调整方法、装置、终端设备”专利获授权
2、汇顶科技“CMOS成像传感器及相关制造方法”专利获授权
3、本源量子“文本分类方法、装置、电子设备和计算机可读存储介质”专利获授权
1、OPPO“一种数据传输方法及参数调整方法、装置、终端设备”专利获授权
天眼查显示,OPPO广东移动通信有限公司近日取得一项名为“一种数据传输方法及参数调整方法、装置、终端设备”的专利,授权公告号为CN116261230B,授权公告日为2025年10月17日,申请日为2020年2月7日。

本申请实施例提供一种数据传输方法及参数调整方法、装置、终端设备,包括:第一终端设备获取第一非连续接收DRX配置信息,所述第一DRX配置信息用于确定第二终端设备的连续侦听时间范围;所述第一终端设备在所述第二终端设备的连续侦听时间范围内向所述第二终端设备发送侧行数据。
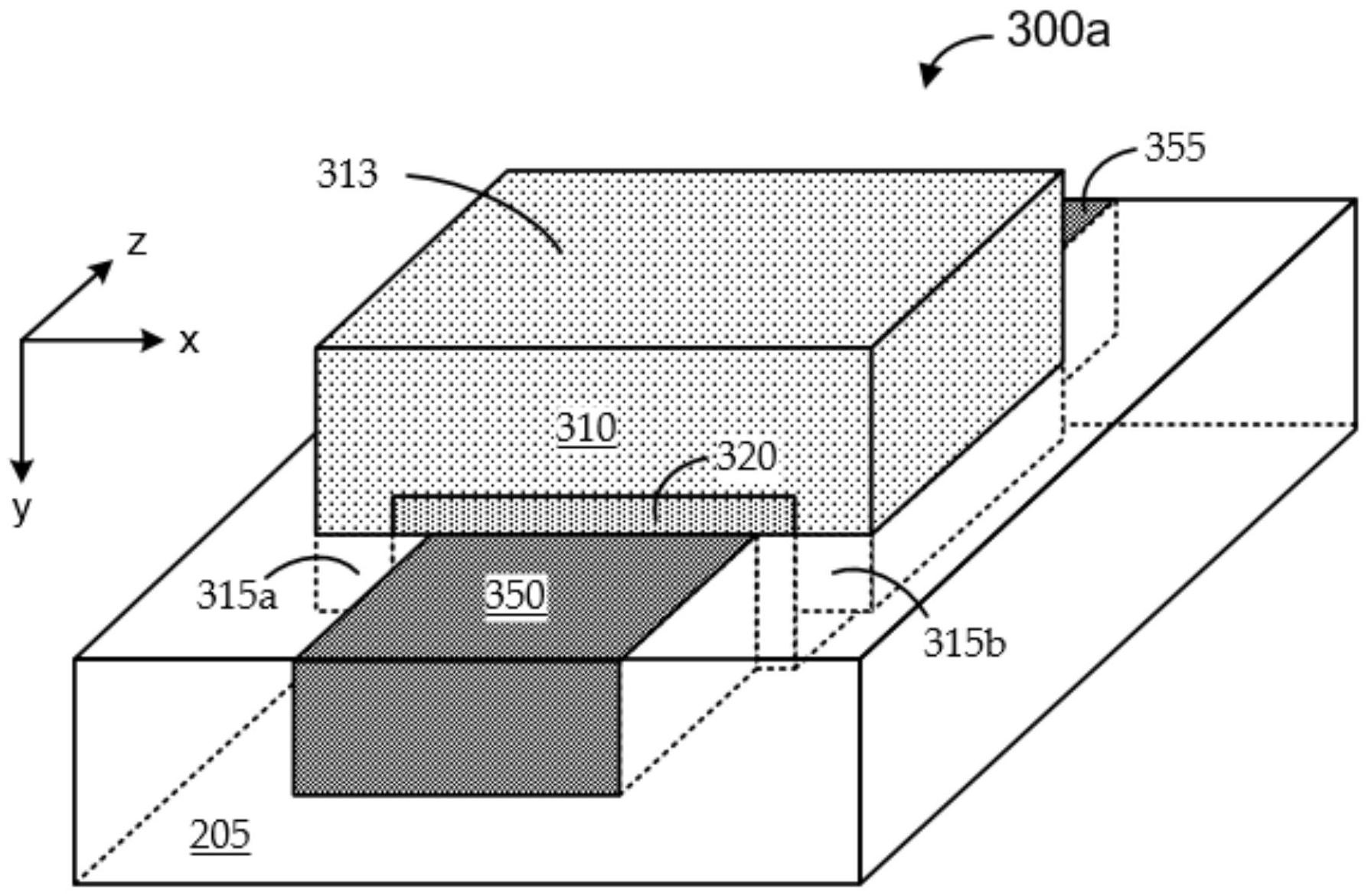
2、汇顶科技“CMOS成像传感器及相关制造方法”专利获授权
天眼查显示,深圳市汇顶科技股份有限公司近日取得一项名为“CMOS成像传感器及相关制造方法”的专利,授权公告号为CN114649358B,授权公告日为2025年10月17日,申请日为2021年12月15日。

描述了一种CMOS成像传感器及相关制造方法。CMOS图像传感器像素的像素内电路系统内集成有鞍形栅极源极跟随器晶体管。鞍形栅极源极跟随器晶体管结构可以包括具有由沟槽在其轴向侧上限定的三维几何形状的沟道区。在沟道区的顶部和轴向侧上方形成栅极氧化层,并且在栅极氧化层上形成鞍形栅极结构。因此,鞍形栅极结构包括在沟道区的顶部上方延伸的座部,以及在沟道区的第一和第二轴向侧上方延伸的第一和第二防护部,使得第一和第二防护部被掩埋在半导体衬底的上表面的下方(例如,掩埋在侧隔离区中形成的沟槽中)。
3、本源量子“文本分类方法、装置、电子设备和计算机可读存储介质”专利获授权
天眼查显示,本源量子计算科技(合肥)股份有限公司近日取得一项名为“文本分类方法、装置、电子设备和计算机可读存储介质”的专利,授权公告号为CN115964480B,授权公告日为2025年10月17日,申请日为2021年10月12日。

本发明实施例提出一种文本分类方法、装置、电子设备和计算机可读存储介质,涉及自然语言处理领域。由于输入矩阵由待分类文本对应的文本嵌入矩阵和待分类文本对应的量子位置编码矩阵相加得到,且用于提取特征的第一特征提取网络和第二特征提取网络中均包括变分量子线路,则输入分类器的第三特征矩阵中实际上包含了待分类文本对应的量子位置编码信息、词本身的嵌入编码信息以及不同词相互之间通过变分量子线路纠缠得到的更深度的语义信息等多维度语义信息,故能有效缓解现有技术中限定词嵌入编码固定维度所带来的语义信息损失和冗余的问题,从而实现更好的文本分类效果。
