1、苹果平价头显设备降级:或配备1500PPI OLED显示屏
2、TCL创始人、董事长李东生:不出海,就出局
3、TCL科技:拟以108亿元收购LGD广州面板厂80%股权、模组厂100%股权
4、新型显示光刻胶亟待突破
5、京东方“倒装芯片和芯片封装结构”专利获授权
1、苹果平价头显设备降级:或配备1500PPI OLED显示屏
苹果公司开发更经济实惠的混合现实(MR)设备的可能性越来越大。据传,它将采用像素密度为1500PPI的OLED显示屏,以降低制造成本。韩国媒体预测,日本JDI和三星显示(SDC)等公司将参与苹果平价MR设备的OLED显示屏开发。
虽然苹果公司在2024年上半年推出了首款MR头显Vision Pro,其显示面板的像素密度达到了3391PPI,但降低新产品的像素密度可以大大降低生产成本。据报道,业内消息人士透露,JDI最近向苹果提供了一个用于MR设备的1500PPI OLED样品,其中采用了索尼的技术。
2024年上半年,苹果公司向三星显示和其他公司发出了一份信息征询书(RFI),要求提供像素密度约为1700PPI的硅基OLED(OLEDoS)显示屏。相比之下,JDI最近提供的OLED样品像素密度较低。
此外,JDI提供的样品基于玻璃芯基板(GCS)OLED技术,而不是苹果最初要求的OLEDoS技术。
据解释,虽然Vision Pro采用了画质更好的OLEDoS显示屏,但其3500美元的高昂售价以及有限的内容资源导致其销量低于预期。据传,早些时候向三星显示和其他公司发出的RFI也与Vision Pro的不佳表现有关。
有报道称,在收到JDI的OLED样品后,苹果正在考虑开发基于GCS OLED的平价MR设备。韩国媒体预计,其他显示器制造商也会效仿,向苹果提供样品,希望获得订单。
据推测,三星显示可能会在其A2生产线上开发基于GCS的OLED显示器,像素密度约为1500PPI。据报道,三星显示还一直在与几个合作伙伴讨论为MR设备开发玻璃基板OLED的事宜。
韩国、日本和中国台湾的公司之间为获得苹果订单而展开的竞争预计将加剧。三星显示和LG显示(LGD)在OLED沉积技术方面占有优势,而中国台湾公司则被视为薄膜晶体管(TFT)技术的领先者。不过,苹果公司的平价MR设备可能还需要两到三年才能投入量产,因此很难预测哪家公司最终会占上风。
2、TCL创始人、董事长李东生:不出海,就出局
9月25日,中国企业全球化发展论坛在北京举行。TCL创始人、董事长李东生在演讲中表示,全球化已经成为中国制造业的必答题,不出海,就出局。

今年是TCL全球化25周年,通过海外本土化经营,完善全球化产业布局,海外营收实现持续增长。过去5年,TCL海外营收从590亿元增长到1253亿元,年均增长17.6%;同期出口额从90亿美元增长到173亿美元,年均增长15.2%,实现了扩大海外业务和增加出口相互促进,有效助力国家双循环新发展格局构建。以TCL实践来看,海外营收每实现100美元,可带动60美元产业链出口。
据了解,目前TCL海外制造基地分布在越南、马来西亚、菲律宾、印尼、印度、巴基斯坦、波兰、墨西哥、巴西等九个国家,实现东南亚、南亚、欧洲、北美、南美等各大区域本土化制造布局。
得益于持续坚定全球化战略,TCL实现主要产品全球领先。2023年TCL电视销量达2526万台位列全球品牌第二、中国品牌第一,TCL华星电竞显示屏市占率位居全球第一,TCL中环光伏晶体晶片销量稳居全球第一。
李东生在演讲中指出,全球化对于TCL最大的战略意义在于四个方面:一是领先一步构建全球制造网络,从容应对当前全球地缘政治和经济格局巨变;二是倒逼企业产业升级,从消费电子企业成功转型为科技制造产业集团;三是坚定自主创新,以领先科技推动全球化;四是培养了一批国际化管理干部,构建了全球化经营组织。
针对“未来中国企业出海方向”,李东生提出四条发展建议:一是要从产品贸易到共建工业能力,推动海外本土化建设;二是从中国产业链链主到海外区域链链主;三是从全球产品制造到全球品牌经营;四是从兼并收购到自主成长。(电子信息产业网)
3、TCL科技:拟以108亿元收购LGD广州面板厂80%股权、模组厂100%股权
9月26日,TCL科技发布公告,拟通过控股子公司TCL华星光电技术有限公司(简称“TCL华星”)收购乐金显示(中国)有限公司(简称“LGDCA”)80%股权、乐金显示(广州)有限公司(简称“LGDGZ”)100%股权,以及LGDCA、LGDGZ运营所需相关技术及支持服务,基础购买价格为108亿元。

记者了解到,LGDCA为8.5代大型液晶面板厂,主要产品为电视及商显大尺寸液晶面板产品,设计月产能为180千片大板;LGDGZ为模组工厂,主要产品为液晶显示模组,设计月产能为230万台。LGDCA及LGDGZ均位于广州市黄埔区。
上月初,TCL科技与LGD曾发布公告,披露TCL华星被确认为LGDCA 70%股权、LGDGZ 100%股权竞买的优先竞买方,本次公告则确认其拟收购的LGDCA股权份额由70%变更至80%。公告披露本次交易拟以现金方式支付,资金来源为TCL华星的自有或自筹资金;本次交易股权转让价款支付采取分期付款方式。
作为面板行业百亿级并购项目,LGD广州工厂的归属一直备受关注。如今,LCD产业已经迈入相对成熟的发展阶段,持续的产业链整合是行业必然趋势,本次TCL华星成功收购LGD广州面板厂及配套模组厂,能够实现对面板资源的整合,优化行业格局,促进显示面板领域的良性竞争,助推半导体显示行业长期稳定与健康可持续发展。
对TCL科技而言,此次收购对于其在丰富半导体显示产线技术、深化国际化客户战略合作、增强产业协同效应和规模优势、提升长期盈利水平等方面大有裨益。
据悉,此前TCL华星主要专注于垂直排列VA面板,通过整合LGDCA的IPS产能和技术,能够持续优化产品结构,进一步满足市场对于宽视角、色彩准确度的需求;同时,技术的融合创新不仅能助推TCL华星加速产品迭代,还将促进其优化专利组合,巩固公司竞争力。
TCL科技在公告中指出,本次收购亦有利于公司发挥规模及产业协同效应。收购完成后,LGDCA将与同在广州的TCL华星t9产线组成“双子星”工厂,有利于优化资源配置,降低运营成本,提高运营效率,提升产线竞争力与公司长期盈利能力。
此外,此次并购的顺利推进,将有利于TCL华星进入标的公司的全球客户网络,有利于公司深化国际客户的战略合作,为公司全球化布局和多元化产品策略提供强有力支撑,助力公司业绩提升。(电子信息产业网)
4、新型显示光刻胶亟待突破
近日,中国光学光电子行业协会液晶分会常务副秘书长胡春明表示,我国显示面板行业发展迅速,相关的原材料大多已实现国产供应,但彩色/黑色光刻胶的国产化率仍然非常低,新型显示用光刻胶这个整体市场规模不足百亿元的原材料却紧扣着超万亿元总投资的产业发展。
预计到2025年,中国大陆将占据全球约72%的LCD面板产能,而新型显示光刻胶扮演着驱动产品更新换代和性能提升的关键角色。彩色/黑色光刻胶在显示面板制造中的作用不仅仅是一个简单的材料,而是决定了LCD面板的关键性能。
比如在色彩性方面,彩色光刻胶具有优异的色彩表现力。在高精细度、高对比度方面,黑色光刻胶的高精细程度直接决定了显示面板上像素点的大小和间距,提高分辨率。另外,在图形转移方面、耐用性等方面,彩色/黑色光刻胶保证“遗传”信息的一致性和稳定性。
方正证券相关资料显示,在LCD的构成组件中,彩色滤光片在LCD面板总成本占比约为14-16%。彩色/黑色光刻胶是核心材料,合计占到了彩色滤光片成本的27%左右。但是超过7成的市场仍有国外光刻胶厂商主导。
记者了解到,我国彩色/黑色光刻胶近10年刚起步,较国外几十年的发展史,属于后起之秀,产业整体发展仍存在多重困难。这类高定制化产品除了技术壁垒极高,还存在很多行业发展痛点。
中国电子材料行业协会常务副秘书长鲁瑾表示,国内光刻胶厂商营收规模普遍较小,研发投入大;配套原材、设备等多个环节仍旧高度依赖进口;上下游协同验证周期长、成本高;高端研发人员和管理人员都比较缺失,企业自主培养人才周期长、成本高,这些均是光刻胶企业发展短时间内难以突破的困局。不过近年来欣奕新材、雅克科技(收购国外企业)等国内显示光刻胶厂商,在黑色/彩色光刻胶方面取得了不错成绩。
近年来,我国出台多项政策文件,重点支持新型显示光刻胶发展。工业和信息化部、财政部印发《国家新材料产业资源共享平台建设方案》《关于扩大战略性新兴产业投资培育壮大新增长点增长极的指导意见》,要求加快在光刻胶等领域实现突破。
业内专家指出,在此背景下,彩色/黑色光刻胶作为显示面板制造中重要的关键材料,其国产化进程的加速与提升,不仅是满足国内产业高速发展的迫切需求,更是构建安全可控供应链体系的关键一环。(电子信息产业网)
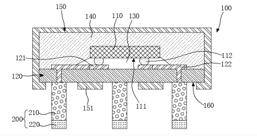
5、京东方“倒装芯片和芯片封装结构”专利获授权
天眼查显示,成都京东方光电科技有限公司近日取得一项名为“倒装芯片和芯片封装结构”的专利,授权公告号为CN113851437B,授权公告日为2024年9月6日,申请日为2020年6月28日。

本公开提供了一种倒装芯片和芯片封装结构,属于显示技术领域。该倒装芯片包括驱动芯片和多个导电连接件;其中,驱动芯片具有用于朝向一布线基板的封装面;任意一个所述导电连接件包括连接于所述封装面的导电凸点和位于所述导电凸点远离所述驱动芯片一侧的导电外延部。该倒装芯片能够提高芯片封装结构的稳定性。
