IT之家 2 月 11 日消息,科技媒体 Wccftech 昨日(2 月 10 日)报道,苹果公司正在探索全新的交互模式:用户无需发出声音,仅凭唇部和面部肌肉运动即可发送短信或唤醒 Siri。
IT之家曾于 1 月 30 日报道,苹果完成 Beats 之后最大收购案,斥资近 20 亿美元(IT之家注:现汇率约合 138.37 亿元人民币)拿下 Q.ai。
公开资料显示,Q.ai 核心竞争力在于独特的机器学习算法,基于获批专利,可以分析“面部皮肤的微小运动”来检测无声或轻声发出的词语,该技术还可用于识别个人身份,并评估情绪、心率、呼吸频率等多项生理指标。
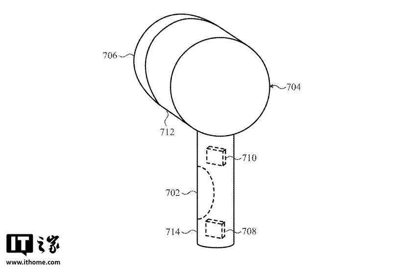
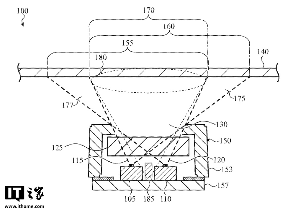
分析师郭明錤此前透露,苹果计划在 2026 年推出的摄像头版 AirPods Pro 3,这类传感器类似于 Face ID 所使用的点阵投影仪,能够进行近距离的 3D 深度测绘。
苹果于 2025 年 7 月获得了一项专利,利用摄像头(类似于 Face ID 的点投影)应用于接近检测和 3D 深度映射应用场景。虽然专利中没有直接指明 AirPods,但这项技术契合能够近距离追踪面部运动的微型红外摄像头理念。



该媒体指出苹果公司可能会结合 Q.ai 的软件算法与 AirPods Pro 的红外硬件,打造一套能精准捕捉并翻译面部微动的感知系统。
这一技术组合若成功落地,将彻底改变人机交互的逻辑。分析人士指出,用户未来在拥挤的地铁或安静的办公室中,无需再大声喊出“Hey Siri”,也不必掏出手机打字,仅需通过微小的面部动作即可完成发送 iMessage 信息或切换歌曲等操作。
这种“静默控制”让人机交互变得更加自然且隐蔽,一方面保护了用户隐私,另一方面也有效解决了在公共场合使用语音助手的社交羞耻感(Social Stigma)。
这项技术的应用前景远不止于耳机。Q.ai 创始人 Aviad Maizels 曾参与创立 PrimeSense(Face ID 技术源头),未来“无声语音”交互极有可能扩展至 Vision Pro 头显及传闻中的苹果智能眼镜。

