天眼查显示,荣耀终端有限公司“电子设备”专利公布,申请公布日为2024年9月13日,申请公布号为CN118646816A。

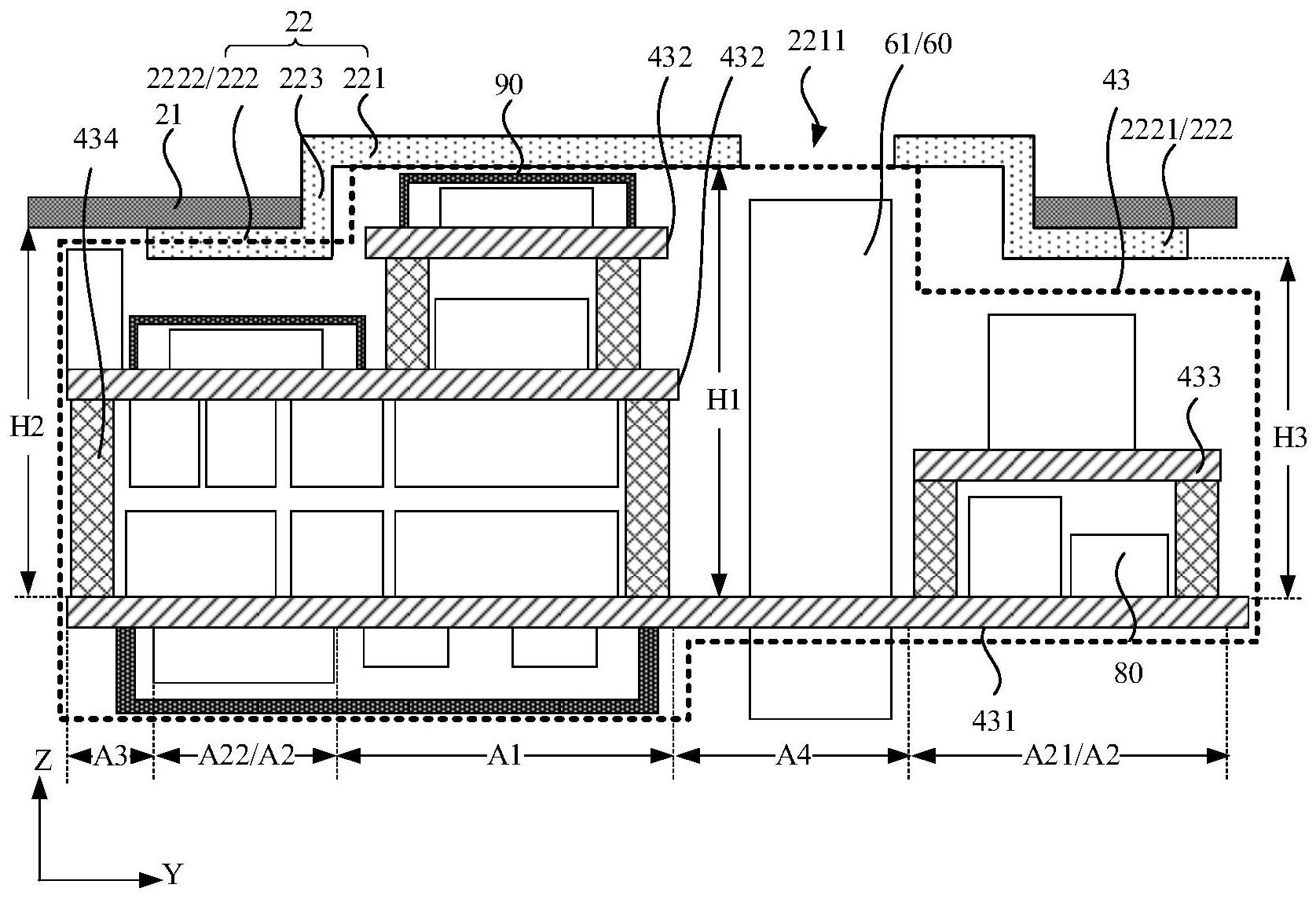
本申请实施例提供一种电子设备,可解决电路板布局面积不足的问题。电子设备包括:壳体结构,至少包括第一部分和第二部分,第一部分所在的平面和第二部分所在的平面不同;电路板组件,位于壳体结构的一侧;电路板组件至少两层电路板,至少两层电路板至少包括层叠设置的第一电路板和至少一层第二电路板,第一电路板位于第二电路板背离壳体结构一侧,第一部分到第一电路板的距离大于第二部分到第一电路板的距离;电路板包括第一表面和第二表面,电路板组件对应第一部分的位置设有功能器件,且设有功能器件的表面的数量为第一预设值,电路板组件对应第二部分的位置设有功能器件,且设有功能器件的表面的数量为第二预设值,第一预设值大于第二预设值。
