1、传苹果下一代智能眼镜或采用MicroLED,最早将于2026年量产
2、天马微电子“显示面板及显示装置”专利获授权
3、传三星Galaxy S25系列将转投骁龙8 Gen4!
1、传苹果下一代智能眼镜或采用MicroLED,最早将于2026年量产
苹果下一代 Apple Watch Ultra 正在使用 microLED 进行严格测试,但由于高昂的显示屏成本使其无法进行商业发布,该公司放弃了这一计划。据报道,有传言称,苹果公司尚未放弃 microLED,因为它正在为即将推出的智能眼镜做准备。

不过,苹果智能眼镜的开发挑战可能非常艰巨,将在 2027 年某个时候推出其 AR 眼镜。遗憾的是,随时可能出现不为人知的困难阻碍进展。
同时,另有行业人士称,苹果计划在这款可穿戴设备上使用 microLED 技术,预计将于 2026 年实现量产。但这位消息人士并未明确智能眼镜或显示器是否会在这一年份投入量产,因为即使苹果设法突破了大规模生产 microLED 面板的昂贵流程,AR 眼镜也是完全不同的设备领域,要生产出卓越的产品仍存在一些列挑战,包括设备重量、芯片性能和耗电量等。
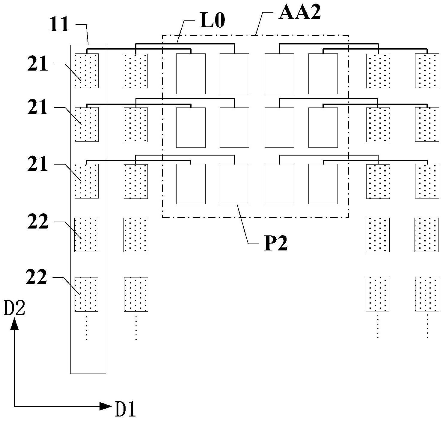
2、天马微电子“显示面板及显示装置”专利获授权
天眼查显示,武汉天马微电子有限公司近日取得一项名为“显示面板及显示装置”的专利,授权公告号为CN115346486B,授权公告日为2024年9月13日,申请日为2022年7月13日。

本发明公开一种显示面板及显示装置,涉及显示技术领域,包括:显示区,显示区包括第一显示区和光学部件区;发光元件,发光元件包括第一发光元件和第二发光元件,第一发光元件位于第一显示区,第二发光元件位于光学部件区;第一显示区包括复数个沿第一方向排列的像素驱动单元列,像素驱动单元列包括第一像素驱动单元列,第一像素驱动单元列包括复数个第一像素驱动电路,一个第一像素驱动电路与一个第二发光元件电连接。本发明将与光学部件区中的第二发光元件电连接的第一像素驱动电路设置在第一显示区,不占用光学部件区的空间,因而有利于提升光学部件区的透光率和整体显示品质。
3、传三星Galaxy S25系列将转投骁龙8 Gen4!
三星原本将搭载Exynos 2500芯片的三星Galaxy S25系列手机,由于产能问题将改为骁龙8 Gen4移动平台。
据悉,三星Exynos 2500芯片的产量仅达到预期的55%,远低于三星设定的70%目标。
尽管Exynos 2500在S25系列中缺席,但据传闻,它仍有机会在未来的S25 FE及新一代可折叠设备中亮相。
三星Exynos 2500芯片采用先进的3纳米制程工艺,有望在性能和能效上超越当前市场上的主流芯片。
三星在芯片领域的竞争日益激烈,面对华为、苹果等巨头的不断推陈出新,Exynos 2500的推迟发布无疑给三星带来了新的挑战。
尽管面临挑战,三星仍致力于在高端手机市场提供领先的技术产品。(快科技)
