IT之家 10 月 12 日消息,虽然微软 Surface Duo 系列双屏手机产品线已经从人们视线消失,不过微软最近接连有折叠屏手机“Surface Phone”专利通过美国专利商标局(USPTO)申请,目前微软公布的一项新专利变展示了这款手机的铰链折叠形态细节。

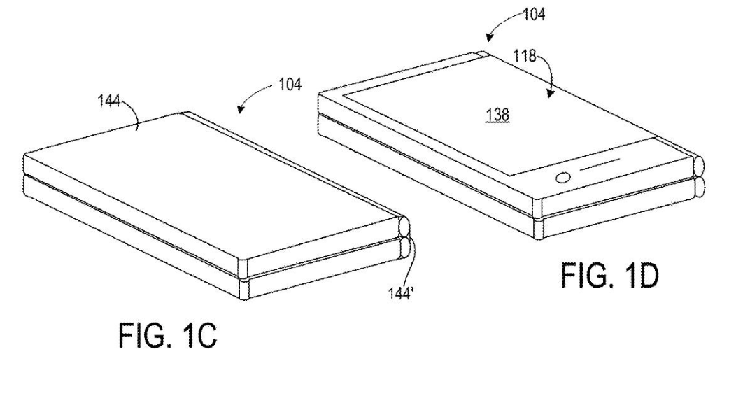
微软在专利中重点介绍了这款手机的 360 度铰链,其整体风格有点类似当年的 Surface Duo,考虑到该机采用柔性面板,这对于工程学来说挑战较大。
该机支持检测 0 度、180 度、300 度、360 度四种折叠角度,在配合系统的情况下,能够根据用户的不同需求切换成传统手机、平板电脑、笔记本电脑等生产力形态。
如今微软很有可能专为开发折叠屏设备“Surface Phone”,但至于这款全新的“Surface Phone”是否能够发布,何时发布,IT之家将持续关注相关铺路进展。
《微软新专利暗示折叠屏新机配后置三摄 + 可折叠支架》
《微软新专利暗示折叠屏新机铰链支持 360 度旋转》
《微软为折叠屏手机开发“脊椎盖板”铰链新专利》
