IT之家 11 月 3 日消息,任天堂在日本申请的一项新专利现已通过专利局审核,该专利显示任天堂将为旗下 Switch 游戏机推出一款新的 VR 外设,有望为现款(2019 年发售)Switch Labo 纸板盒 VR 的迭代产品。
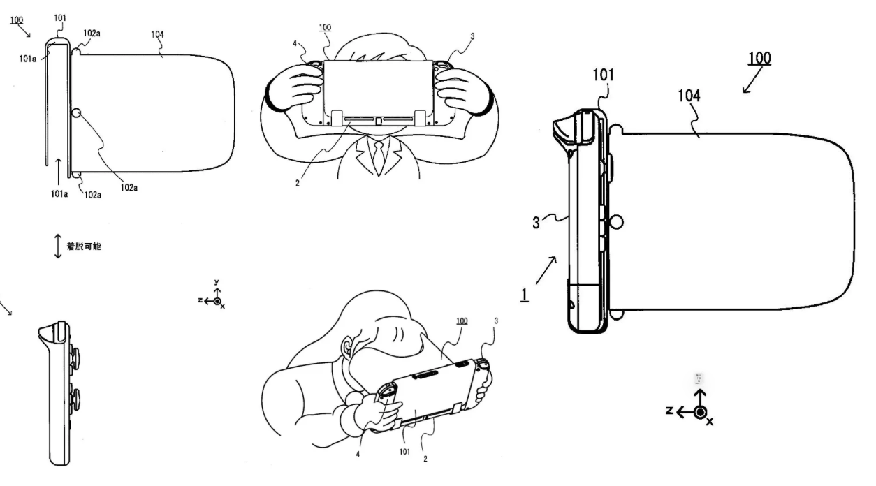
该专利被称为“辅助设备和立体图像显示系统”,描述了“显示立体图像的便携式主机,以及帮助用户查看立体图像的辅助设备”。

不过与 Labo VR 不同,IT之家注意到该专利展示的 VR 外设整体更加精致,其带有主机夹,可以更安全地将设备夹住。图像还显示了用户可以在佩戴 VR 时使用左右手握住 Switch 游戏机 Joy-Con 手柄。

▲ 任天堂在 2019 年推出的 Labo VR 产品
目前尚不知悉任天堂会在何时推出这款采用全新设计的 Switch Labo VR,预计任天堂很有可能与 Switch 2 同期展示该产品。
