IT之家 11 月 12 日消息,根据世界知识产权组织(WIPO)于 11 月 7 日公示的清单,三星获得了一项 XR 头显相关的专利,暗示了未来的头显设计。

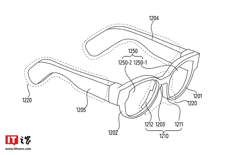
专利描述该产品为“AR 眼镜或者 HMD 头显设备”,用户可以通过该设备看到真实物体和现实世界,并利用虚拟空间中的参考点进行导航和操作。




IT之家援引专利描述,用户可以触摸或选择虚拟图像进行互动。用户界面将包含按钮、菜单、文本框、图标、图像和视频等虚拟视觉元素;设备将配备操作系统,类似于苹果的 VisionOS 和 Meta 的 Horizon OS。
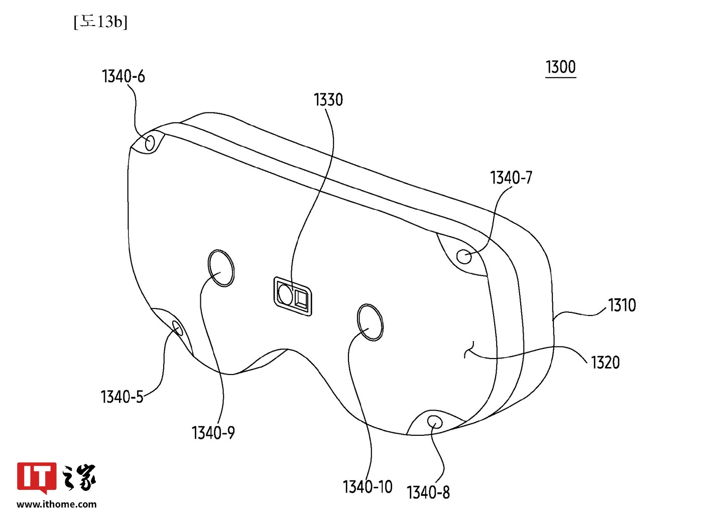
尽管显示类型尚未确认,但专利表示设备内部将包含处理器、内存、传感器等组件,以执行各种任务和渲染视觉效果。



该设备可能支持 5G、6G、蓝牙等多种连接方式。除了显示屏外,可能还会有扬声器作为输出设备。
输入方式包括控制器、手势识别、语音控制等,用户将通过视觉提示了解物体是否在视野范围内。
