IT之家 11 月 15 日消息,传闻中的微软折叠屏手机“Surface Phone”又一项专利现已通过美国专利商标局(USPTO)申请,展示这款手机的正面形态。

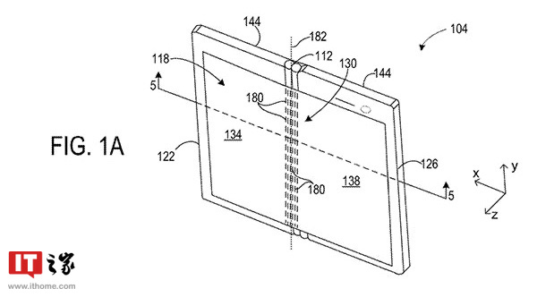
IT之家整理摘要信息得知,相关专利图展示了这款折叠屏手机的正面展开状态,其中显示该机并未采用流行的“打孔”屏设计,整体边框较宽,更接近于 Surface Duo 的风格。
另参考微软今年 6 月 20 日通过的专利,这款 Surface Phone 折叠屏手机采用后置三摄设计,同时配备类似 Surface Pro 的可折叠支架。

如今微软很有可能专为开发折叠屏设备“Surface Phone”,但至于这款全新的“Surface Phone”是否能够发布,何时发布,IT之家将持续关注相关铺路进展。
《微软新专利暗示折叠屏新机配后置三摄 + 可折叠支架》
《微软新专利暗示折叠屏新机铰链支持 360 度旋转》
《微软为折叠屏手机开发“脊椎盖板”铰链新专利》
