1、机构:中国“双十一”期间智能手机销量同比反弹26% 达950万台
2、扩产OLED面板,LG显示将在越南追加10亿美元投资
3、LG Display携手中国专利局举办车载显示技术说明会
4、机构:Q3小米以19%份额领跑印度尼西亚智能手机市场
5、京东方“一种触控与显示驱动集成芯片及显示装置”专利公布
1、机构:中国“双十一”期间智能手机销量同比反弹26% 达950万台
11月15日,市调机构TechInsights移动团队估算显示,在2024年中国最大的网购节“双十一”期间,智能手机销量同比反弹26%,达到950万台,这主要得益于销售周期的延长。销额增长落后于销量,但保持在两位数区间,受市场两极化趋势影响,平均售价(ASP)同比有所下降。

就厂商表现而言,苹果在高端市场(6000元人民币以上,即828美元以上)仍占据主导地位。小米在入门级至中端市场的增长推动下,与苹果的差距不断缩小。从销量看,小米和苹果以21%的份额并列第一,vivo超越荣耀,位居第三。
从渠道来看,京东在智能手机销量和销售额上仍是最大的平台,其次是天猫(包括淘宝)和拼多多。直播带货(抖音、快手、小红书等)继续同比扩张,按GMV计算,占据了约22%的市场份额。
2、扩产OLED面板,LG显示将在越南追加10亿美元投资
越南政府11月14日晚些时候表示,越南已向韩国面板制造商LG Display(LG显示)颁发了许可证,该公司将在北部港口城市海防增加10亿美元的投资。
据越南海防经济区管理局的一份文件显示,这笔投资将提高LG显示海防工厂的OLED面板产量,并将其在越南的总投资提高到56.5亿美元。
近日,LG显示宣布其第三季度综合营业亏损为806亿韩元,与去年同期的亏损6621亿韩元相比有了显著改善。受移动设备等小型产品出货量增加的推动,该公司第三季度销售额同比增长42.5%,达到6.8213万亿韩元。销售额季度环比也小幅增长1.7%。
LG显示一直致力于推进以OLED技术为中心的业务结构。与去年第三季度相比,OLED产品占总销售额的比例增加16个百分点,达到58%。在按产品类别划分的销售额中,电视面板占23%,显示器、笔记本电脑和平板电脑等IT面板占33%,移动面板和其他产品占36%,汽车面板占8%。
LG显示计划通过推进以OLED为中心的业务结构来扩大经营业绩。公司的目标是通过提高运营效率和开展成本创新活动来提高盈利能力。
3、LG Display携手中国专利局举办车载显示技术说明会
LG Display近期在中国国家知识产权局专利局专利审查协作湖北中心成功举办了车载显示技术说明会。作为全球显示技术的领先企业,LG Display凭借其差异化的产品和技术竞争力,不断巩固其在车载显示领域的全球领先地位。

这次技术说明会是LG Display自2015年以来在中国举办的第七次技术交流活动。此前,LG Display已在广东、江苏、天津、四川、河南、北京等地的审核机构举办过多场活动。通过这一系列活动,LG Display积极向中国市场推广包括OLED在内的多种尖端显示技术。
在当天的会议上,LG Display先行技术研究所长梁埈荣常务指出,公司通过与中国专利审查员的技术交流,积极推广OLED等引领市场的差异化显示技术,增强市场领导力。梁埈荣常务还特别介绍了LG Display独有的Tandem OLED技术,该技术通过堆叠有机发光层构成双层结构,相较于传统的单层结构,在亮度、寿命等耐久性和可靠性方面表现更出色。LG Display于2019年在业内首次成功量产该技术产品,去年又推出了第二代Tandem OLED,这一代产品进一步提升了画面的亮度和产品的寿命,同时减少了大约40%的能耗。
今年,LG Display开始开发第三代Tandem OLED技术,亮度和功耗相较于第二代均有大幅提升,以此进一步提升技术实力。此外,LG Display的车载P-OLED技术融合了Tandem OLED与弹性塑料基板,在保持OLED卓越画质的同时,具备轻薄、可弯曲的特性,实现了设计上的差异化。这种P-OLED面板不仅支持符合人体工程学的曲面设计,还因最大程度减少了有害物质的使用而荣获了业内首个由全球检验认证机构SGS颁发的环保认证。
未来移动出行的代表——SDV(软件定义汽车,Software Defined Vehicles)时代,车载显示屏的大屏化和多屏化成为重要趋势,便于驾驶员和乘客通过大尺寸屏幕轻松操控车辆功能。为满足这一趋势,LG Display还推出了多款超大尺寸的车载显示解决方案。
LG Display CTO尹洙荣副社长表示:“凭借独特技术和稳定的供应能力,LG Display致力于成为全球领先的车载显示供应商。我们深感荣幸能在引领未来汽车行业发展的中国市场展示我们的技术。”
文章来源:电子信息产业网
4、机构:Q3小米以19%份额领跑印度尼西亚智能手机市场
11月14日,市调机构Counterpoint Research最新报告显示,2024年第三季度,由于经济的稳定增长和需求的增加,印度尼西亚智能手机出货量同比增长4%。

从厂商排名上看,小米在2024年第三季度领跑市场,占据19%的出货量份额。同时,小米继续关注大众市场,在入门级市场(<200美元)以25%的份额居于领先地位,与去年同期相比增加了19%。此外,新的小米14T系列推动了该品牌在高端市场(400美元—599美元)51%的同比增长。
OPPO出货量同比增长2%,以18%的份额保持了其市场第二的地位。OPPO在200美元—399美元以及400美元—599美元价格段的细分市场中处于领先地位,这一点也反映了其专注中高端市场的策略。OPPO在中端市场(200美元—399美元)的强劲增长得益于OPPO A60以及新发售的A30Pro和Reno12F系列。
vivo和三星以17%的市场份额并列第三,接下来是realme(11%)和Infinix(9%)。
在谈及市场前景时,Counterpoint Research高级分析师Febriman Abdillah表示:“考虑到手机厂商和零售商在节假日期间会开展促销活动,预计智能手机市场在2024年第四季度将会增长。同时AI功能逐渐赢得了消费者的支持,我们可能会在市场上看到更多新的AI智能手机。”
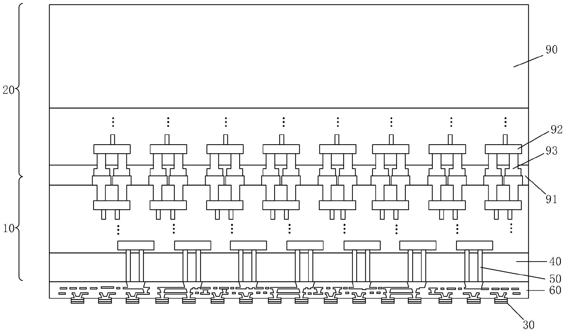
5、京东方“一种触控与显示驱动集成芯片及显示装置”专利公布
天眼查显示,成都京东方光电科技有限公司“一种触控与显示驱动集成芯片及显示装置”专利公布,申请公布日为2024年10月11日,申请公布号为CN118760370A。

本公开提供了一种触控与显示驱动集成芯片及显示装置,其中,触控与显示驱动集成芯片包括触控显示模拟集成电路以及堆叠设置在所述触控显示模拟集成电路上方的触控显示数字集成电路;其中,所述触控显示模拟集成电路与所述触控显示数字集成电路通过混合键合方式直接键合连通,所述触控显示模拟集成电路上设置有多个绑定垫,所述多个绑定垫可与触控显示面板绑定连接,且所述触控显示模拟集成电路包括触控模拟电路和显示模拟电路,所述触控显示数字集成电路包括触控数字电路和显示数字电路,所述触控显示模拟集成电路与所述触控显示数字集成电路封装在一起构成触控显示集成芯片。
