1.OPPO“射频前端模组和通信设备”专利公布
2.天马微电子“一种可折叠显示装置、电子设备及控制方法”专利获授权
3.京东方“发光基板、背光模组及显示装置”专利公布
1.OPPO“射频前端模组和通信设备”专利公布
天眼查显示,OPPO广东移动通信有限公司“射频前端模组和通信设备”专利公布,申请公布日为2024年10月18日,申请公布号为CN118801916A。

本申请实施例涉及一种射频前端模组和通信设备,射频前端模组包括接收模块、第一收发器件和第二收发器件;第一收发器件用于支持对来自第一天线ANT1的射频信号中的第一频段信号的主集接收处理,并支持对来自第一天线ANT1的射频信号中的第二频段信号的主集接收处理,还用于将处理后的信号传输至射频收发器的第一主集接口;第二收发器件与接收模块连接,用于支持对来自第二天线ANT2的射频信号中的第一频段信号的接收处理,并将来自第二天线ANT2的射频信号中的第二频段信号传输至接收模块;接收模块用于支持对来自第二收发器件的第二频段信号的接收处理。
2.天马微电子“一种可折叠显示装置、电子设备及控制方法”专利获授权
天眼查显示,武汉天马微电子有限公司近日取得一项名为“一种可折叠显示装置、电子设备及控制方法”的专利,授权公告号为CN115174717B,授权公告日为2024年10月18日,申请日为2022年6月28日。

本发明涉及显示技术领域,公开了一种可折叠显示装置、电子设备及控制方法,展开屏体的过程中利用两个磁性元件之间的磁性作用力使分屏相对于对应的机体滑动,以拉伸屏体,使屏体展开后能够在两个磁性元件之间的磁性作用力下保持平坦状态;通过跌落检测单元实时地检测可折叠显示装置是否处于跌落状态,一旦确定可折叠显示装置处于跌落状态,则控制电磁结构失电,使两个磁性元件之间的磁性力消失,实现将屏体保持拉紧的作用力被撤销,之后屏体将能够相对于机体滑动。
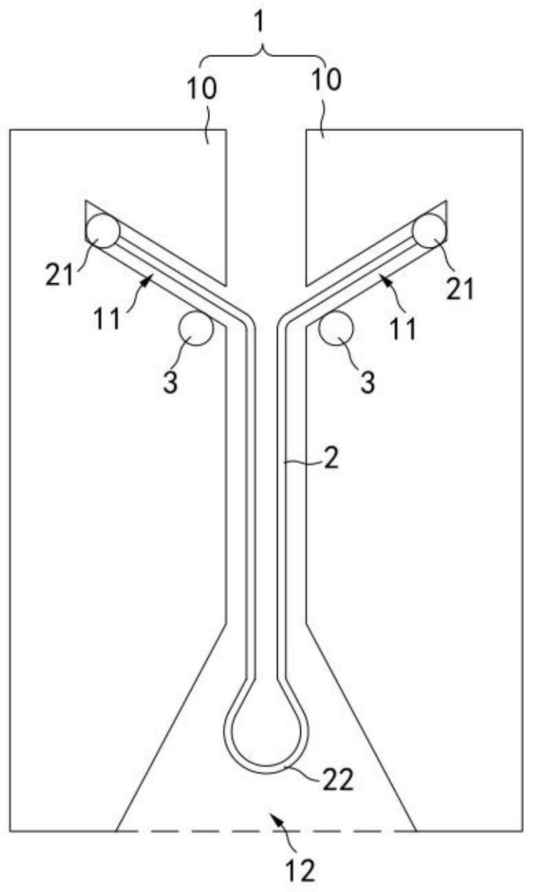
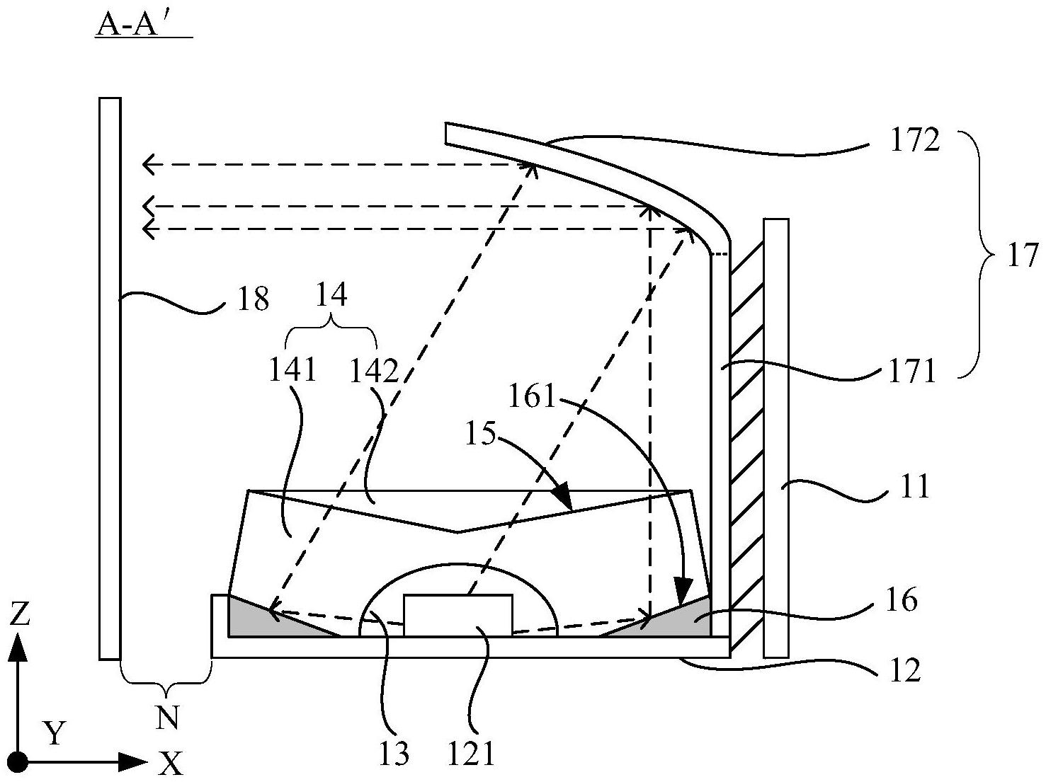
3.京东方“发光基板、背光模组及显示装置”专利公布
天眼查显示,京东方科技集团股份有限公司“发光基板、背光模组及显示装置”专利公布,申请公布日为2024年10月18日,申请公布号为CN118795696A。

本申请提供了一种发光基板、背光模组及显示装置,涉及显示技术领域,该发光基板包括第一背板,设置于第一背板上的多个第一发光芯片,围绕第一背板设置的第二背板,以及设置于第二背板上且围绕第一背板设置的多个第二发光芯片,还包括多个透镜和封装结构,透镜的至少部分位于第二发光芯片远离第二背板的一侧,封装结构设置于第二背板上且覆盖透镜和第二发光芯片。本申请提供的发光基板可以应用到背光模组中,以实现背光模组边缘亮度的提升。
