天眼查显示,维沃移动通信有限公司近日取得一项名为“电子设备”的专利,授权公告号为CN115394195B,授权公告日为2024年10月29日,申请日为2022年8月29日。

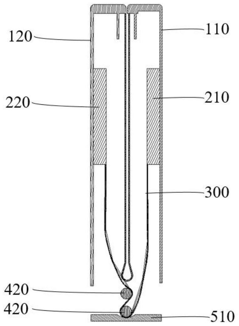
本申请公开一种电子设备,属于通信设备技术领域。所公开的电子设备包括第一壳体、第二壳体、第一电子器件、第二电子器件、柔性电连接件和绕线结构件,第一壳体和第二壳体可转动相连,以使电子设备在折叠状态和展开状态之间切换,第一电子器件设于第一壳体,第二电子器件设于第二壳体,柔性电连接件的第一端与第一电子器件相连,柔性电连接件的第二端与第二电子器件相连,绕线结构件可随第一壳体和第二壳体的相对转动而转动,柔性电连接件与绕线结构件相连。上述方案能够解决相关技术中,可折叠式的电子设备在展开或折叠的过程中,柔性电连接件形态保持不一致而导致柔性电连接件破损、断线的问题。
