1.VIVO“电子设备”专利获授权
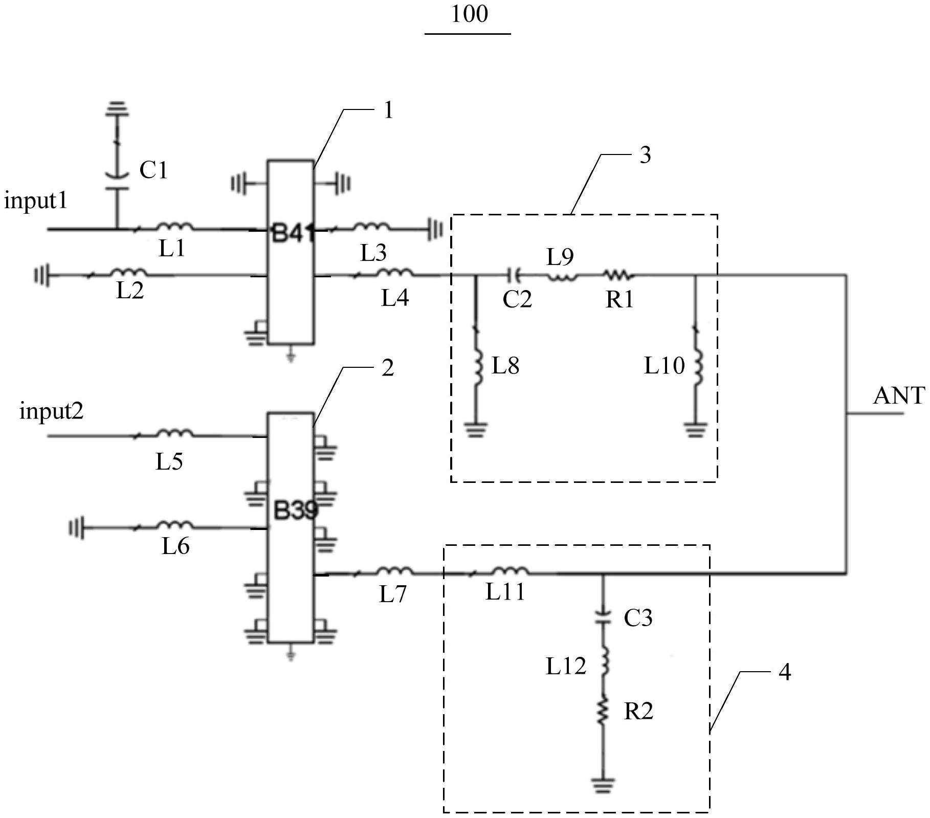
2.飞骧科技“载波聚合电路及射频前端模组”专利获授权
3.欧治半导体“针对DAG模型的数据追踪方法、装置、设备和存储介质”专利公布
4.西安交通大学科研团队实现XIV族二维材料高通量制备
5.得一微荣膺2024年度TOP50智能汽车硬科技创新奖
1.VIVO“电子设备”专利获授权
天眼查显示,维沃移动通信有限公司近日取得一项名为“电子设备”的专利,授权公告号为CN115394195B,授权公告日为2024年10月29日,申请日为2022年8月29日。

本申请公开一种电子设备,属于通信设备技术领域。所公开的电子设备包括第一壳体、第二壳体、第一电子器件、第二电子器件、柔性电连接件和绕线结构件,第一壳体和第二壳体可转动相连,以使电子设备在折叠状态和展开状态之间切换,第一电子器件设于第一壳体,第二电子器件设于第二壳体,柔性电连接件的第一端与第一电子器件相连,柔性电连接件的第二端与第二电子器件相连,绕线结构件可随第一壳体和第二壳体的相对转动而转动,柔性电连接件与绕线结构件相连。上述方案能够解决相关技术中,可折叠式的电子设备在展开或折叠的过程中,柔性电连接件形态保持不一致而导致柔性电连接件破损、断线的问题。
2.飞骧科技“载波聚合电路及射频前端模组”专利获授权
天眼查显示,深圳飞骧科技股份有限公司近日取得一项名为“载波聚合电路及射频前端模组”的专利,授权公告号为CN221929860U,授权公告日为2024年10月29日,申请日为2023年10月20日。

本实用新型提供了一种载波聚合电路及射频前端模组,其中,所述载波聚合电路包括第一信号输入端、第一电容、第一电感、第一滤波器、第二电感、第三电感、第四电感、第一匹配电路、第二信号输入端、第五电感、第二滤波器、第六电感、第七电感、第二匹配电路以及信号输出端;所述第一滤波器的频段和所述第二滤波器的频段不同。本实用新型中的载波聚合电路可以使其在不影响自身通带的情况下,阻碍与其载波聚合技术的频带通过,从而提升其无线通信速度和通信质量。
3.欧治半导体“针对DAG模型的数据追踪方法、装置、设备和存储介质”专利公布
天眼查显示,深圳市欧治半导体有限公司“针对DAG模型的数据追踪方法、装置、设备和存储介质”专利公布,申请公布日为2024年10月29日,申请公布号为CN118860899A。

本申请涉及一种针对DAG模型的数据追踪方法、装置、设备和存储介质。所述DAG模型具有业务节点,所述方法包括:在所述业务节点处理任务数据得到处理后任务数据,且传递所述处理后任务数据与所述业务节点对应的执行标识的情况下,获取所述业务节点对应的执行标识与任务执行数据;所述任务执行数据是所述业务节点处理所述任务数据的描述数据;将所述执行标识与所述任务执行数据组合为追踪数据;根据所述执行标识确定所述追踪数据所属的数据链路。采用本方法能够在同一个业务节点能够为其前向的多个业务节点所触发的情况下,确定追踪数据所属的数据链路,以便于系统性地数据分析。
4.西安交通大学科研团队实现XIV族二维材料高通量制备
XIV族材料,如锗、硅和锡,作为电子、能源储存/转换领域的理想功能材料受到广泛关注。然而,由于其固有的非范德华结构,XIV族材料通常处于块状状态,极大阻碍了其基础研究和实际应用。随着XIV族材料被转化为具有可定制厚度和可调谐晶格结构的二维纳米片(锗烯、硅烯和锡烯),其独特的物理和化学性质如高比表面积、可调电子特性、高电化学活性逐渐呈现,也使其在未来的电、能量存储和超薄柔性设备中显示出巨大潜力。但XIV族二维材料的应用高度依赖于其可控的合成方法,由于其内部具有强化学键,目前仅可通过物理-机械/电化学剥离,单晶衬底分子束外延或能量密集型化学气相沉积方法获得。这些合成工艺通常需要特殊的设备和严格的条件,生产率低。因此如何实现XIV族二维材料的高通量、可控合成,以满足其在电子、能量存储和转换领域的应用需求仍是巨大挑战。

鉴于此,西安交通大学郗凯、丁书江教授联合北京航空航天大学杨树斌教授和杜志国副教授提出在熔融金属中注入化学蒸气的方法合成XIV族二维纳米片,通过XIV族元素氯化物与熔融钠发生反应,从而在气/液界面上形成并分离出二维纳米片。该方法利用气液界面的限域生长和自组装特性,实现二维纳米片的高通量、可控合成。制备出的XIV族二维纳米片具有超薄厚度和大尺寸,与石墨烯结合后形成的复合薄膜在锂离子电池中表现出卓越的电化学性能。该工作中提出的鼓泡化学气相生长方法利用气液界面的限域生长特性,为二维材料的制备提供了新思路,具有连续生产二维纳米片的能力,提高了生产效率。相比传统合成方法,该方法设备简单、操作方便、成本低廉,具有潜在的工业化应用前景,有望推动二维材料在柔性电子、催化和能量存储等领域的应用。
该研究成果以《熔融金属中化学蒸汽鼓泡法合成XIV族纳米片》(Bubbling Chemical Vapors in Molten Metal towards XIV-Group Nanosheets)为题发表于国际期刊《纳米快报》(Nano Letters)上。第一作者为西安交通大学化学学院助理教授曹振江,通讯作者为化学学院郗凯教授、丁书江教授和北京航空航天大学杨树斌教授、杜志国副教授,西安交通大学化学学院为第一通讯单位。该工作得到了国家自然科学基金项目、陕西省自然科学基金项目和陕西省秦创原引用高层次创新创业人才项目的资助。论文的表征及测试得到了西安交通大学分析测试共享中心的支持。
5.得一微荣膺2024年度TOP50智能汽车硬科技创新奖
11月21日,国内权威产业研究机构——高工智能汽车,正式发布了“2024年度TOP50智能汽车硬科技创新奖”。得一微电子(YEESTOR)凭借其在车规存储芯片的技术创新能力和市场影响力,成功获得“2024年度智能汽车产业链(芯片类)硬科技·创新先锋企业”殊荣。

该奖项基于高工智能汽车研究院前装量产数据库及定点车型作为基础评价指标,综合考量了企业在技术创新、市场影响力、产业推动力、创新机制、发展潜力以及用户满意度等多个关键维度进行最终评定。得一微电子的入选,再次彰显了其在智能汽车产业链中的核心竞争力。
随着智能化、数字化技术的飞速发展,智能汽车已经成为未来出行的重要趋势。得一微以其在智能汽车存储领域的深厚技术积淀和前瞻视野,成功研发并推出了多款基于自研主控的车规存储芯片。这些产品以卓越的性能,高度的安全性和可靠性,以及灵活的定制化等特点,精准对接汽车行业对存储解决方案的严苛要求,赢得了市场的广泛赞誉。
目前,得一微电子的车规存储芯片已广泛应用于东风、长安新能源、上汽大通、陕汽等主流汽车品牌的数字仪表、T-Box、ADAS、智能座舱、车载信息娱乐系统、事件记录仪等前装系统,为智能汽车的发展注入了强劲动力。

展望未来,得一微电子将继续秉承创新精神,致力于为客户提供更加符合汽车需求的存储解决方案,推动智能汽车行业的持续发展和进步。同时,公司也将积极助力行业优化供应链体系,构建可持续发展的生态体系,为智能汽车产业的繁荣贡献更多力量。
