IT之家 12 月 3 日消息,科技媒体 91Mobile 昨日(12 月 2 日)发布博文,报道称三星最新获批可拆卸表带专利,预示着未来 Galaxy 智能手表可能迎来更便捷、舒适的佩戴体验。
该专利展现了一种全新的表带设计,有望显著提升贴合度、数据追踪精度以及拆卸便捷性等方面。
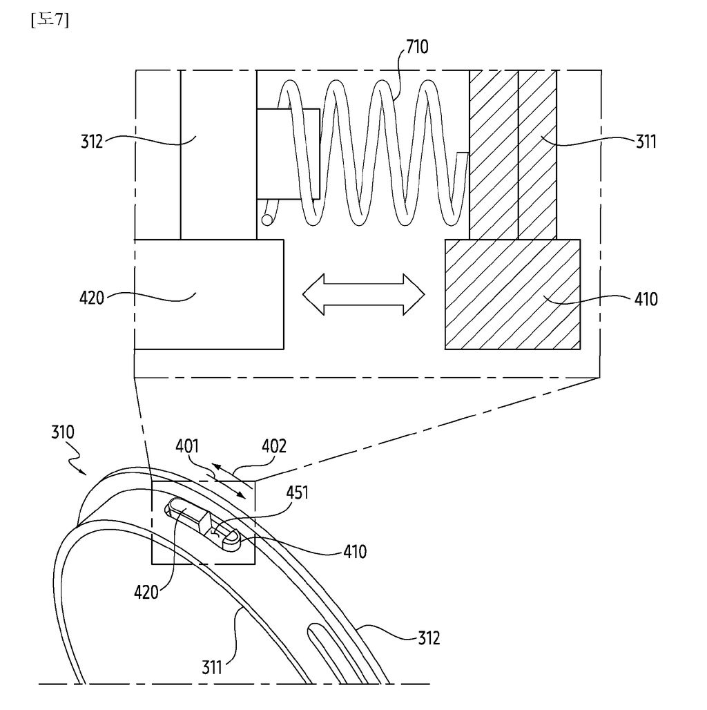
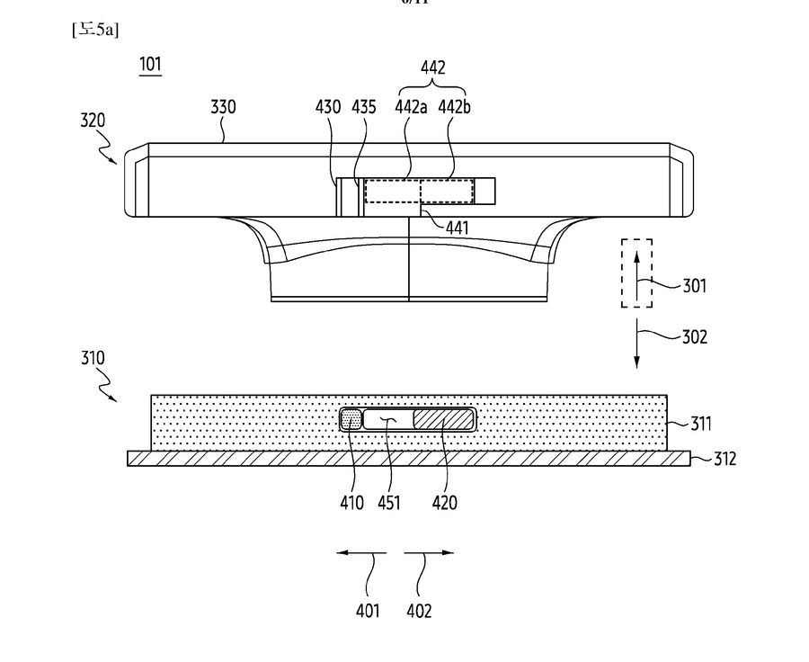
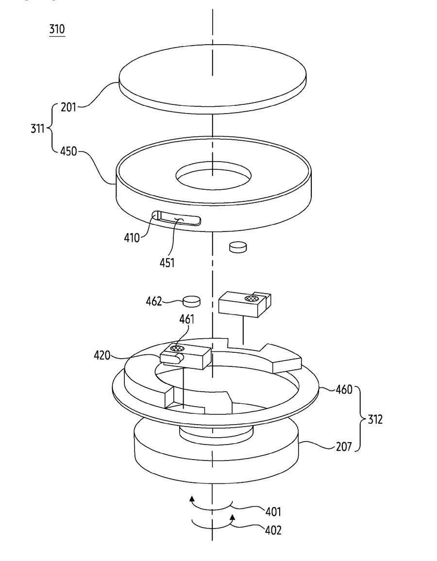
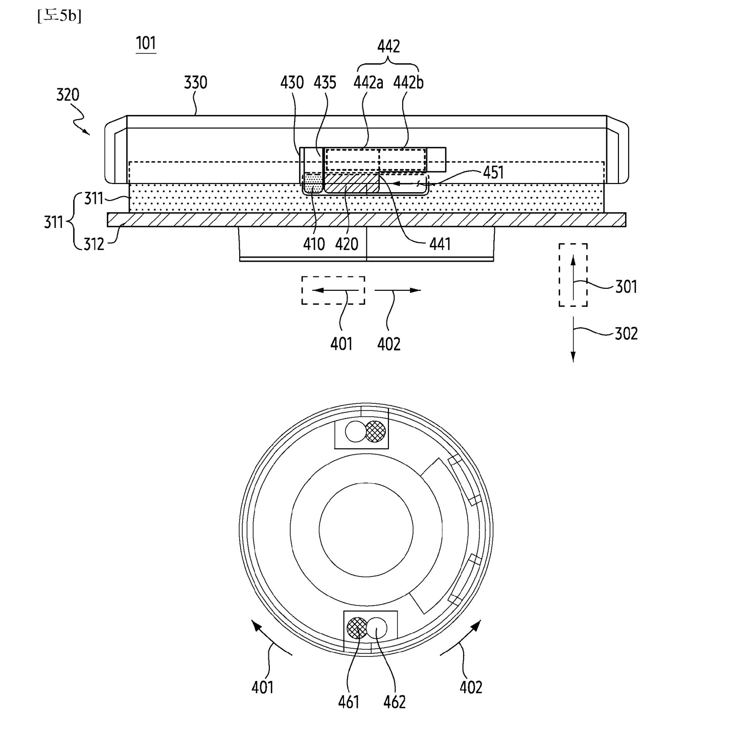
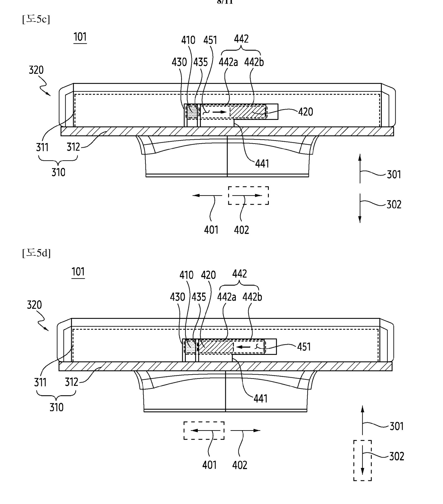
该专利展示核心组件由固定部件(第一固定部分)和可移动部件(第二固定部分)两个部分组成;表带采用一体式设计,包含两段表带和连接核心的框架。用户可将表带套在核心组件上进行连接或拆卸;表带通过凹槽(空心切口)连接固定部分、核心组件。IT之家附上相关图片如下:









三星在专利中表示,这种新设计相比现有的快拆机制,更易于操作,而且可以实现更舒适地佩戴,从而提升数据读取和追踪的准确性。
