IT之家 12 月 19 日消息,汽车媒体 CarBuzz 今天(12 月 19 日)发布博文,在挖掘欧盟知识产权局(EUIPO)数据库后,发现宝马申请新专利:一种头部设计为宝马“蓝天白云” LOGO 形状的防篡改螺丝。
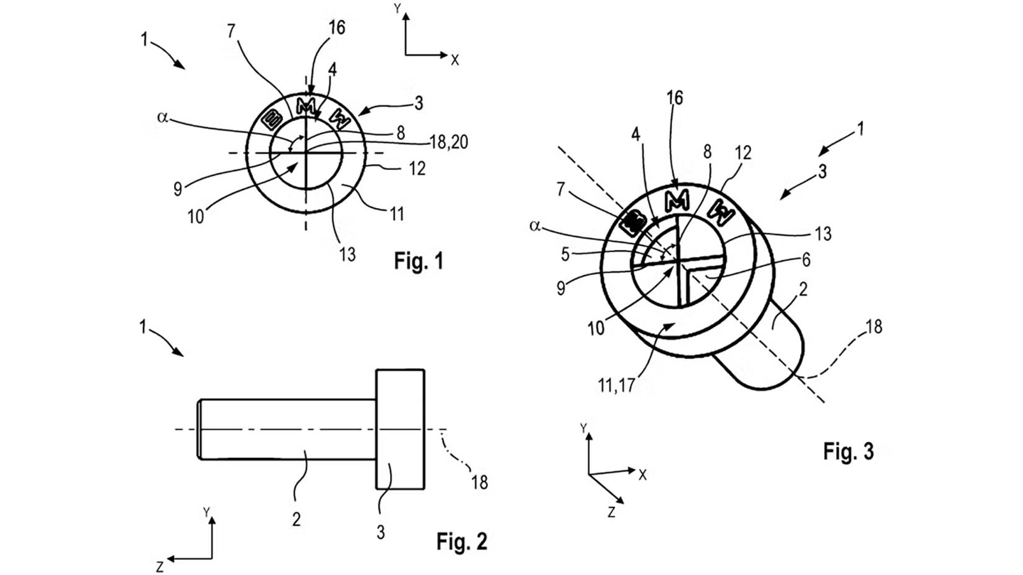
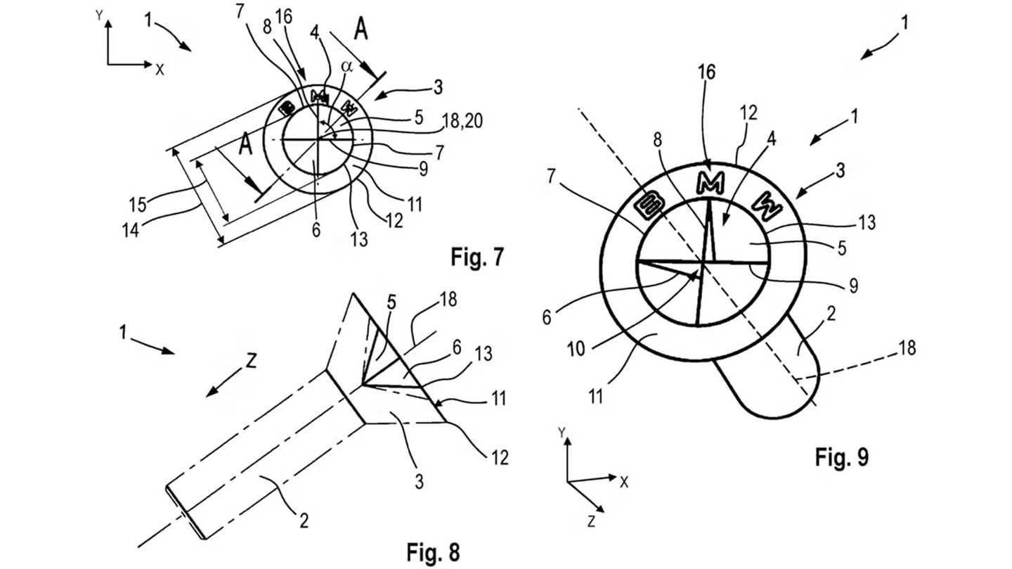
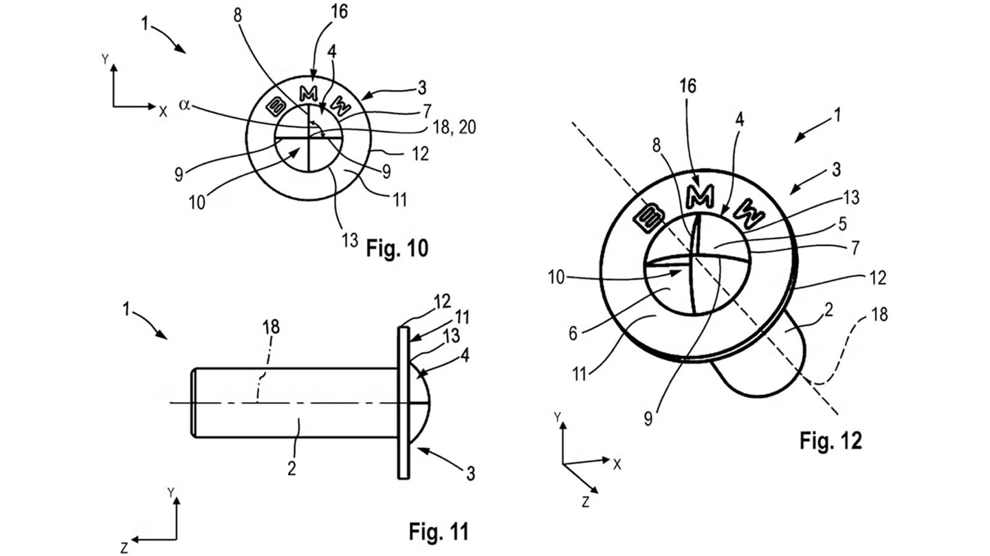
与传统的十字、一字或六角螺丝不同,这款螺丝的头部直接采用了宝马经典的圆形 LOGO 造型,其设计精妙之处在于,LOGO 的四个扇形区域中,两个为凹槽(用于受力),另外两个则与表面齐平,边缘还印有精细的宝马字样。

这项设计并非仅为了美观,其核心目的在于建立物理壁垒,专利文件明确指出,这种异形凹槽结构能有效“防止使用普通反驱动结构(即通用工具)松开或拧紧螺丝”。

这意味着,无论是喜欢 DIY 的车主还是第三方独立维修店,如果没有宝马官方授权的专用匹配工具,将无法处理这些紧固件,这种设计实际上是将维修权牢牢锁定在宝马授权经销商体系内。

IT之家援引博文介绍,宝马计划将这种螺丝应用于车辆内部且通常可见的部位。专利中列举的潜在应用场景包括座椅安装点,以及连接驾驶舱与承重车身结构的关键部位。
这些位置通常需要较大的扭矩来固定大尺寸紧固件。由于该螺丝的受力面被 LOGO 造型分割,且带有装饰性饰环,其接触面积相对较小,若强行使用不匹配的工具拆卸,极易导致螺丝滑丝或工具断裂。

