IT之家 1 月 24 日消息,科技媒体 CarBuzz 昨日(1 月 23 日)发布博文,报道称宝马获批新专利,通过在屏幕底部或侧面引入“触摸感应条”(Sensing Strip),来解决车载大屏盲操作困难及误触痛点。
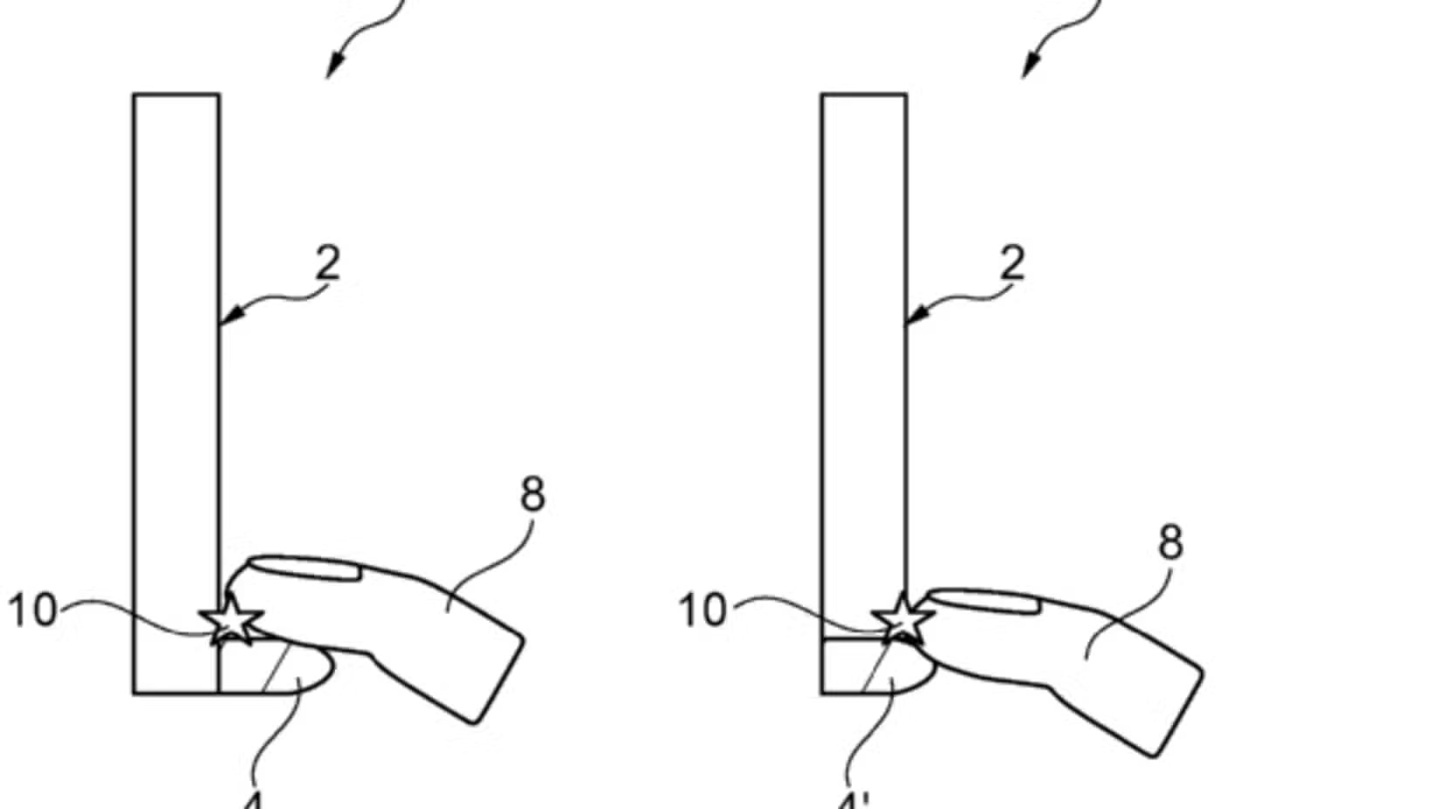
IT之家援引博文介绍,车载信息娱乐系统虽然集成了丰富功能,但全触控设计往往导致驾驶者在操作时分心,甚至因视线转移而引发安全隐患。而宝马这项专利的核心,是为悬空操作的手指提供物理支撑,在屏幕底部或侧面增加一个微型“感应条”。

在现有的全触控屏幕上,车辆经过颠簸路段时,驾驶员的手指极易晃动从而导致误选。而宝马设计的感应条仅突出数毫米,不会遮挡屏幕,反而能充当“手指休息区”,此外表面设计了特定的凹槽,与屏幕上的虚拟按键位置一一对应。

这种设计模拟了传统老式收音机或空调按键的触感,让用户仅凭触觉就能定位功能区。此外,专利还描述了一套包含触觉(震动)、听觉及视觉确认的“多模态反馈系统”。一旦系统接收到指令,感应条会通过震动确认,从而消除用户对“是否点击成功”的疑虑。
