天眼查显示,武汉天马微电子有限公司近日取得一项名为“显示面板及其制备方法、显示装置”的专利,授权公告号为CN115811915B,授权公告日为2025年10月17日,申请日为2022年12月15日。

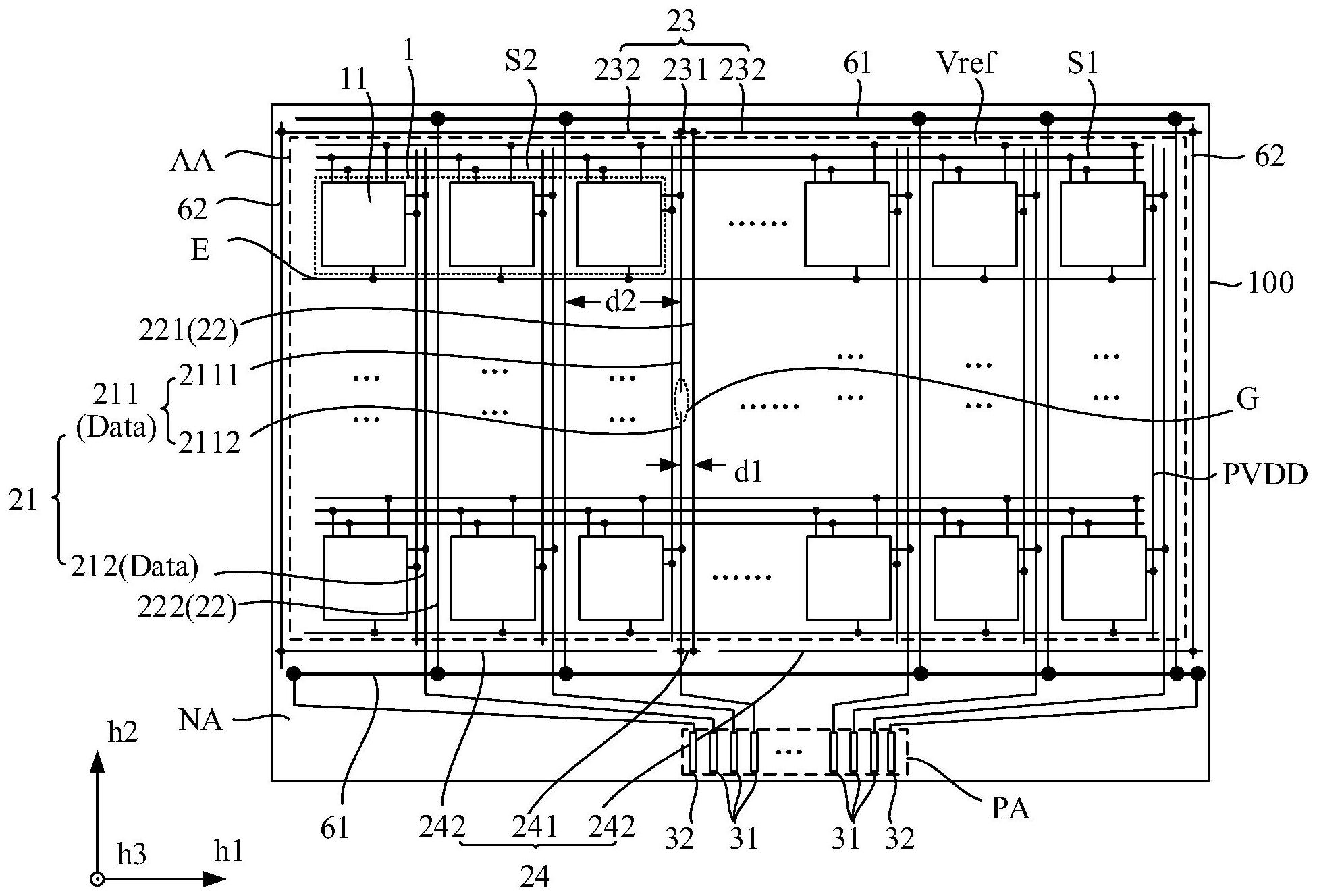
本发明实施例提供了一种显示面板及其制备方法、显示装置,涉及显示技术领域,用于提高显示面板的可靠性,和/或,降低显示面板的功耗。显示区包括第一布线和第二布线;非显示区包括第三布线和第四布线;第一布线包括第一类第一布线,第一类第一布线包括在第三布线和第四布线之间间隔设置的第一子布线和第二子布线;第二布线包括第一类第二布线;第三布线包括第一修复线;第四布线包括第二修复线;第一子布线和第二子布线通过第一修复线、第一类第二布线和第二修复线电连接;和/或,第一布线包括第二类第一布线,第二类第一布线在第三布线和第四布线之间连续设置;第二布线包括第二类第二布线,第二类第二布线传输第一公共信号。
