IT之家 12 月 4 日消息,IT之家从国家知识产权局中国专利公布公告网获悉,荣耀终端有限公司的“滑卷屏支撑结构及电子设备”专利于 12 月 3 日获授权公告。

本申请涉及电子设备领域,旨在解决已知支撑结构对滑卷屏电子设备的柔性屏支撑效果较差的问题,提供滑卷屏支撑结构及电子设备。
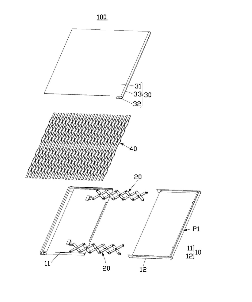
滑卷屏支撑结构包括多个沿第一方向依次连接的支撑单元。
支撑单元包括至少两个沿第二方向间隔设置的支撑体和连接于各相邻支撑体之间的弹性梁结构。
弹性梁结构包括两个边梁,且各个边梁的两端分别连接于相邻的两支撑体之间。
相邻的两支撑单元中,相互靠近的两边梁之间连接有连接部,且连接部与边梁的连接点位于边梁的中间位置。
边梁为弹性结构,并能够受连接部的拉力而发生相对支撑体的弯曲变形。本申请的有益效果是对柔性屏的支撑效果较好。

专利背景技术部分介绍称,一些已知的滑卷屏电子设备,通过两相互插接的梳齿结构实现对柔性屏的支撑。在电子设备展开较大时,这种支撑结构对柔性屏的支撑效果显著变差,影响用户使用体验。
而本申请实施例中的滑卷屏支撑结构可以为滑卷屏电子设备的柔性屏提供更佳的支撑效果。
理由是,在该滑卷屏电子设备展开时,滑卷屏支撑结构两侧受拉而使其支撑单元之间的间距变大,进而使滑卷屏支撑结构的覆盖区域相应变大,并且由于连接部和可弯曲变形的边梁的设置,在支撑单元之间的间距变大时,支撑单元的边梁在连接点处受连接部的拉力而发生弯曲变形,弯曲的边梁在第一方向延伸的距离变大,使得边梁对柔性屏的支撑具有沿第一方向的连续性,从而确保支撑效果。
并且,该滑卷屏支撑结构通过第一连接梁将相邻支撑单元之间的空间分隔为多个更小的空间,提高了支撑效果,避免使用时的肋骨感。
